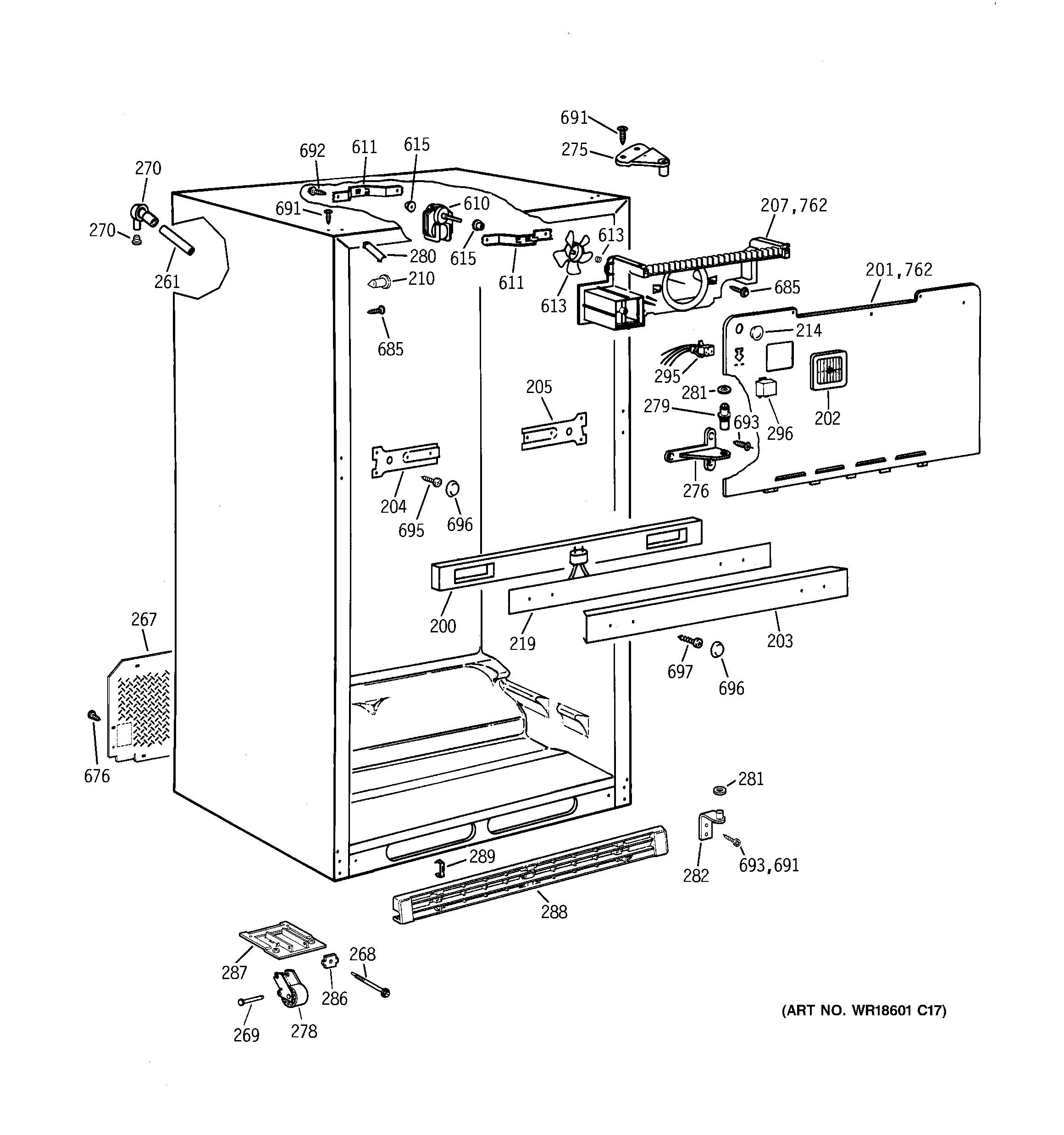
| 200 | GEN WR14X0356 |
| 201 | GEN WR17X2269 |
| 202 | GEN WR02X8629 |
| 203 | GEN WR17X4198 |
| 204 | GEN WR02X7823 |
| 205 | GEN WR02X7822 |
| 207 | GEN WR17X2990 |
| 210 | GEN WR02X6261 |
| 214 | WR02X11760 GE Refrigerator Plug Button |
| 219 | GEN WR51X0358 |
| 261 | GEN WR02X9015 |
| 267 | GEN WR82X10044 |
| 268 | GEN WR01X1816 |
| 269 | GEN WR01X1803 |
| 270 | WR2X8247 GE Refrigerator Plug Button |
| 270 | WR2X8474 GE Fill Tube |
| 275 | HINGE TOP PIN ASM AD |
| 276 | GEN WR13X0712 |
| 278 | GEN WR02X8842 |
| 279 | GEN WR13X0587 |
| 280 | CAP CORNER O.C. AD |
| 281 | WR1X1797D GE Refrigerator Washer Package |
| 282 | GEN WR13X0649 |
| 286 | GEN WR01X1815 |
| 287 | GEN WR02X9168 |
| 288 | GEN WR74X0223 |
| 289 | GEN WR02X7646 |
| 295 | GEN WR23X0315 |
| 296 | GEN WR02X8444 |
| 610 | GEN WR60X0190 |
| 611 | GEN WR02X7664 |
| 613 | WR60X123 GE Fan Blade Black |
| 613 | WR60X114 GE Refrigerator Evaporator Motor Fan Blade |
| 615 | GEN WR02X7391 |
| 676 | WD2X5166 GE Dishwasher Screw |
| 685 | WR01X10606 GE Refrigerator Screw 8-18 CA HX 1/2 S |
| 691 | GEN WR01X2139 |
| 692 | SCREW |
| 693 | GEN WR01X2137 |
| 695 | GEN WR01X10060 |
| 696 | GEN WR02X10172 |
| 697 | GEN WR01X10063 |
| 762 | GEN WR14X0313 |