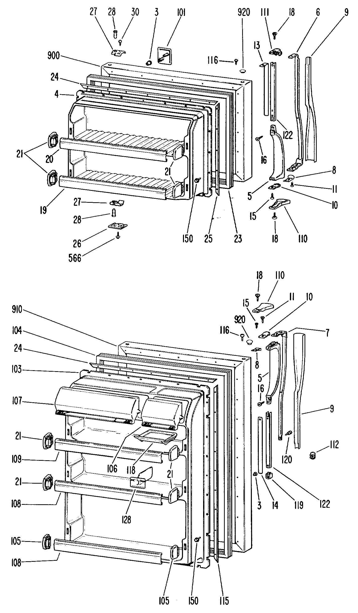
TBX18CHCR 0admin2025-04-26T10:10:52+00:00TBX18CHCR 0 ProductsPositionProduct3GEN WR02X37574GEN WR77X04425GEN WR12X04636GEN WR12X04687GEN WR12X04698GEN WR02X49249GEN WR12X050910GEN WR02X714011SCREW 8-18 B 7/1613GEN WR02X494514GEN WR02X494615GEN WR01X156416GEN WR01X156518GEN WR01X156619GEN WR71X167820GEN WR71X167921GEN WR02X723223GEN WR24X030024GEN WR17X085725GEN WR17X120926GEN WR02X740227GEN WR02X728128GEN WR02X627830SCREW101GEN WR03X0408103GEN WR77X0443104GEN WR24X0301105GEN WR02X7233106GEN WR22X0303107GEN WR22X0305108GEN WR71X1680109GEN WR71X1681110GEN WR02X7231111GEN WR02X4929112GEN WR04X0173115GEN WR17X1530116GEN WR01X1570118GEN WR19X5003119GEN WR02X4928120GEN WR01X1593120GEN WR01X1592122GEN WR12X0471128GEN WR02X7234150SCREW SW. CRADLE216GEN WR01X1332232GEN WR72X0076313GEN WR17X2089553SCR 6-20 B TR 1/4 SS557SCREW 8-40X1/2 SPEC DRIL562SCR 12-24 TT HXW 1 3/64S564SCR 6-20 AB TR 3/8 SS566GEN WR01X1487573GEN WZ04X0254684SCREW687SCREW 6-18 X 1/2" ROUND756HOUSING COND FAN900GEN WR78X7427901GEN WR78X7428902GEN WR78X7429903GEN WR78X7500904GEN WR78X7501910GEN WR78X7430911GEN WR78X7431912GEN WR78X7432913GEN WR78X7502914GEN WR78X7503920GEN WR02X4930921GEN WR02X4931922GEN WR02X4932923GEN WR02X4933924GEN WR02X4934925GEN WR02X7241926GEN WR02X72429999GEN 31-50119999GEN 49-6512