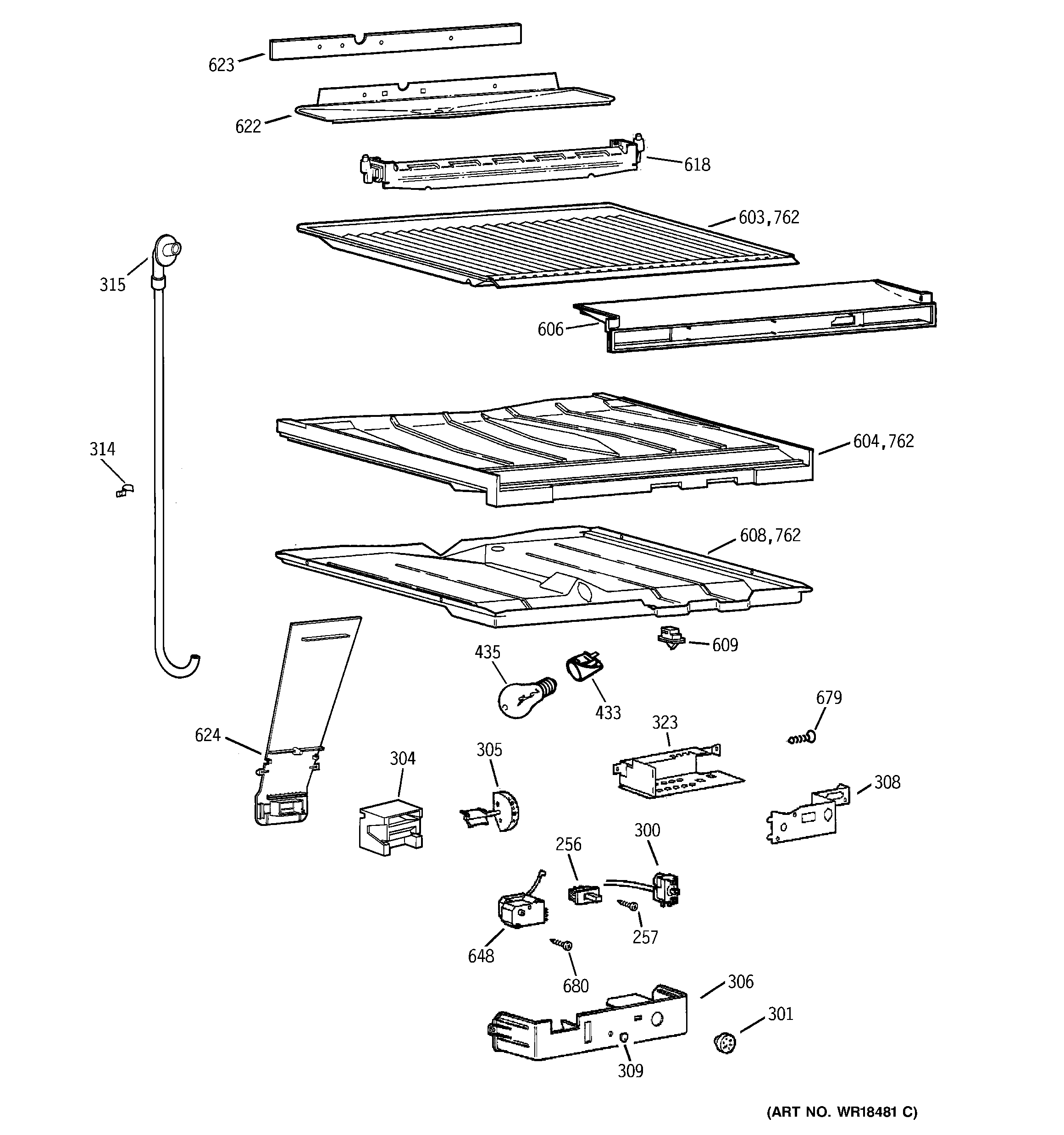
TBX18CIBRRCC COMPARTMENT SEPARATOR PARTS