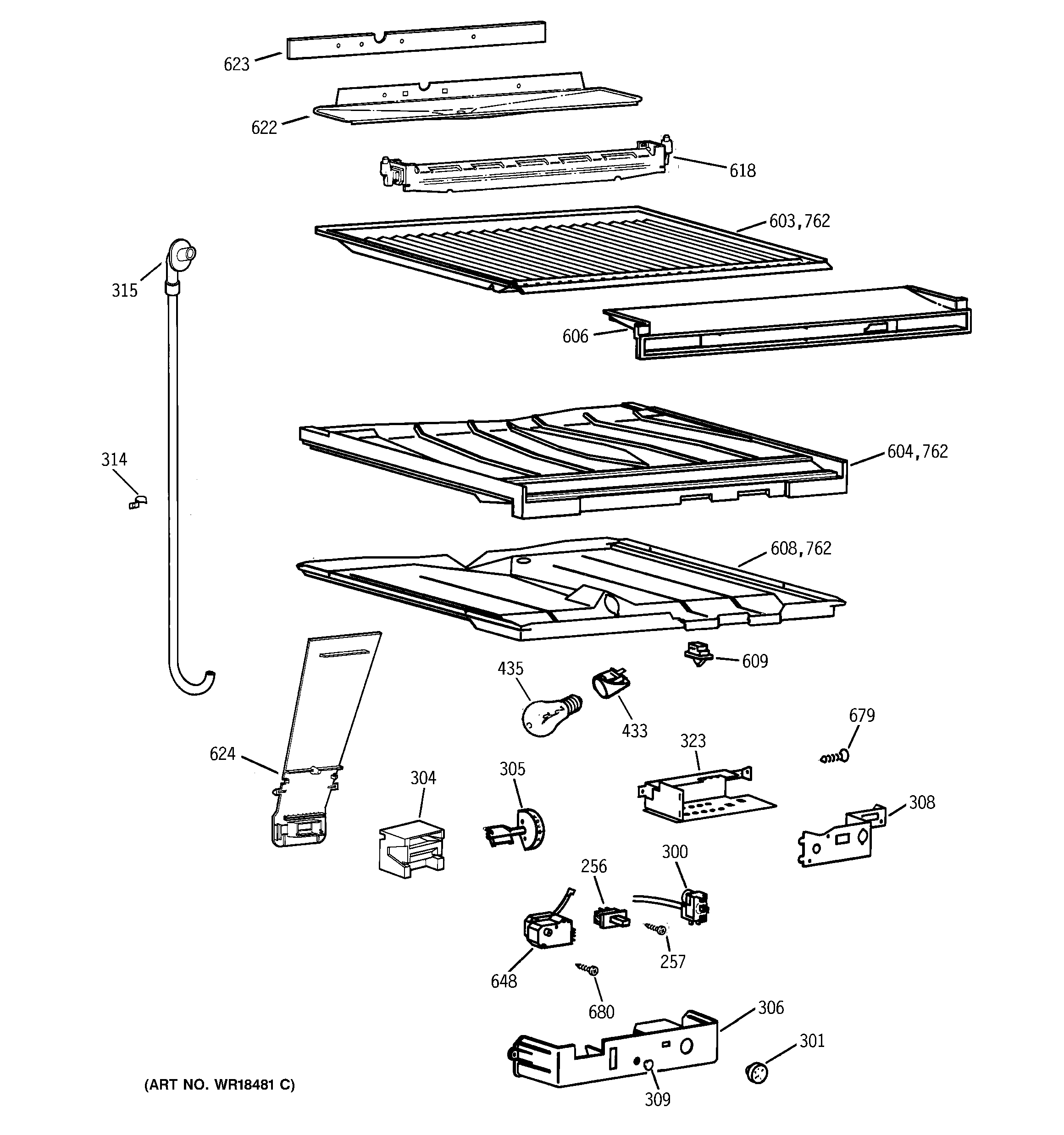
TBX18JABARBB COMPARTMENT SEPARATOR PARTSadmin2025-04-26T10:14:51+00:00TBX18JABARBB COMPARTMENT SEPARATOR PARTS ProductsPositionProduct256GEN WR23X0309257WZ5X158D GE Screw Package of 12300WR2X8344 GE Refrigerator Vinyl Sleeve300GEN WR09X0559301GEN WR02X8692304GEN WR02X8363305GEN WR02X9298306GEN WR17X3196308GEN WR02X7768309GEN WR02X7652314GEN WR02X8503315GEN WR02X10068323GEN WR02X7767433WR2X9391 GE Socket and Terminal435RANGE ONLY 40W 120V APPL BULB603GEN WR17X2275604GEN WR17X3494606GEN WR17X2385608GEN WR17X10028609WR23X37285 GE Light Switch618WR51X464 GE Refrigerator Defrost Heater622GEN WR17X2283623GEN WR14X0357624GEN WR17X3883648WR9X520 GE Refrigerator Defrost Timer 15 Hour 44 Minute679SCREW BRKT. EVAP. FAN680WR1X1850 GE Refrigerator Screw762GEN WR14X0313