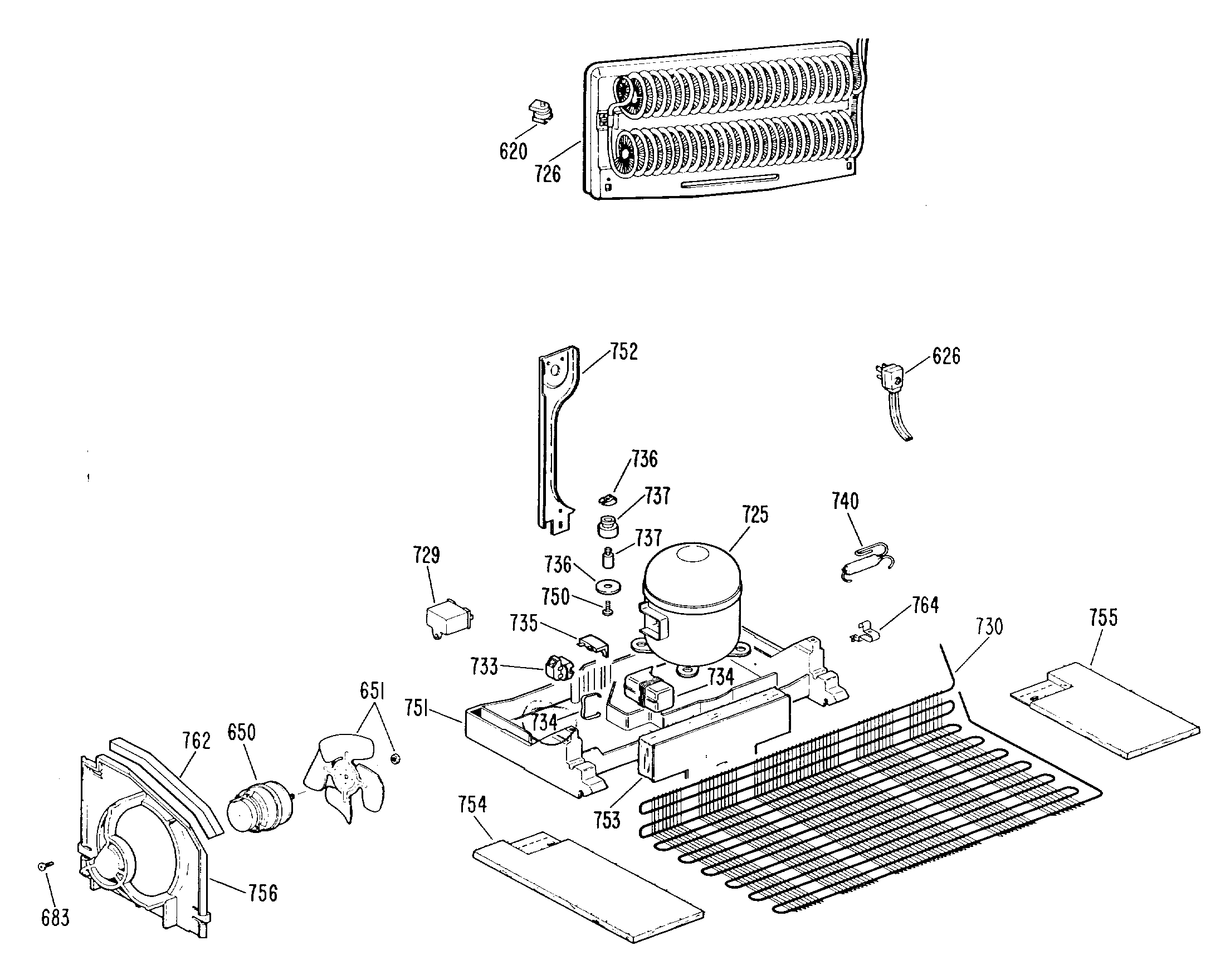
TBX18KKGR 2