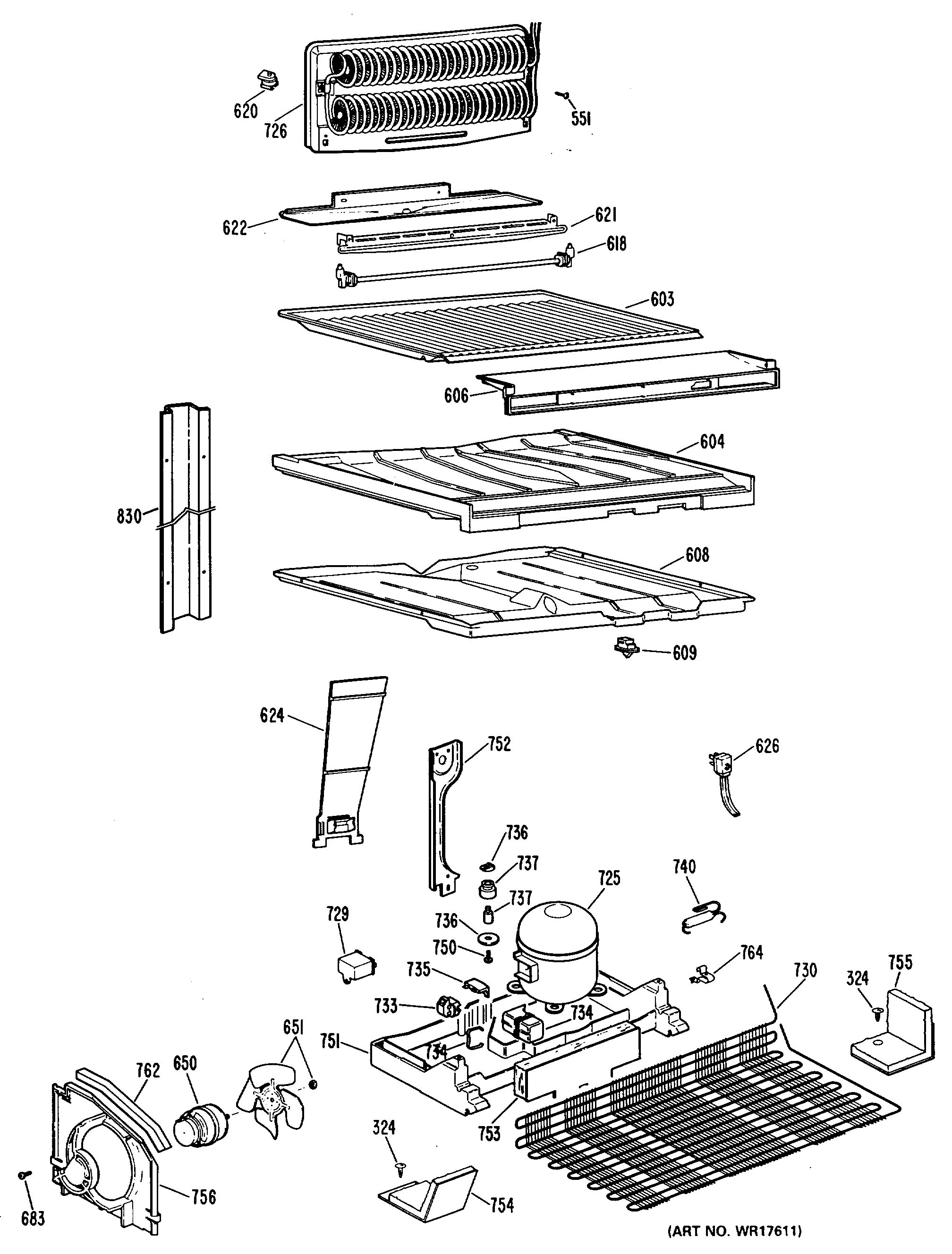
TBX18ZLRRWH 2