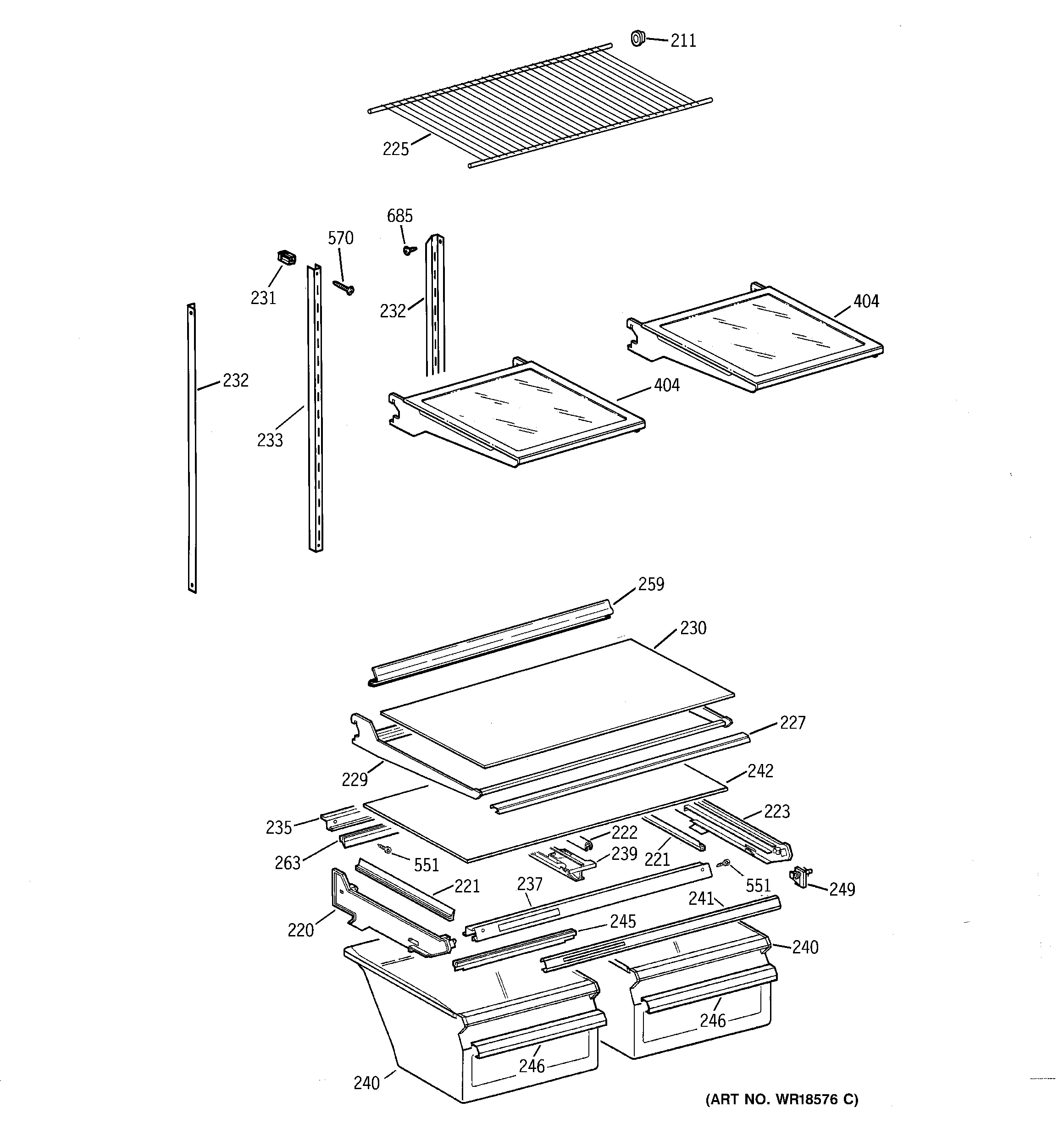
| 211 | GEN WR02X7973 |
| 220 | SLIDE VEG PAN LH |
| 221 | GEN WR14X0384 |
| 222 | GASKET SLIDE CTR VP |
| 223 | SLIDE VEG PAN RH |
| 225 | GEN WR71X1955 |
| 227 | GEN WR38X10099 |
| 229 | GEN WR71X2179 |
| 230 | GEN WR32X10048 |
| 231 | GEN WR02X7018 |
| 232 | GEN WR72X0096 |
| 233 | GEN WR72X0097 |
| 235 | GEN WR17X2780 |
| 237 | GEN WR17X2779 |
| 239 | GEN WR17X2768 |
| 240 | GEN WR32X1132 |
| 241 | GEN WR17X10267 |
| 242 | GEN WR32X10050 |
| 245 | GEN WR14X0358 |
| 246 | GEN WR38X10107 |
| 249 | GEN WR02X8695 |
| 259 | GEN WR38X1636 |
| 263 | GEN WR14X0418 |
| 404 | GEN WR32X10049 |
| 551 | GEN WZ04X0244 |
| 570 | WR01X10626 GE Refrigerator Screw 8-18 AB HXW 5/4 S |
| 685 | WR01X10606 GE Refrigerator Screw 8-18 CA HX 1/2 S |