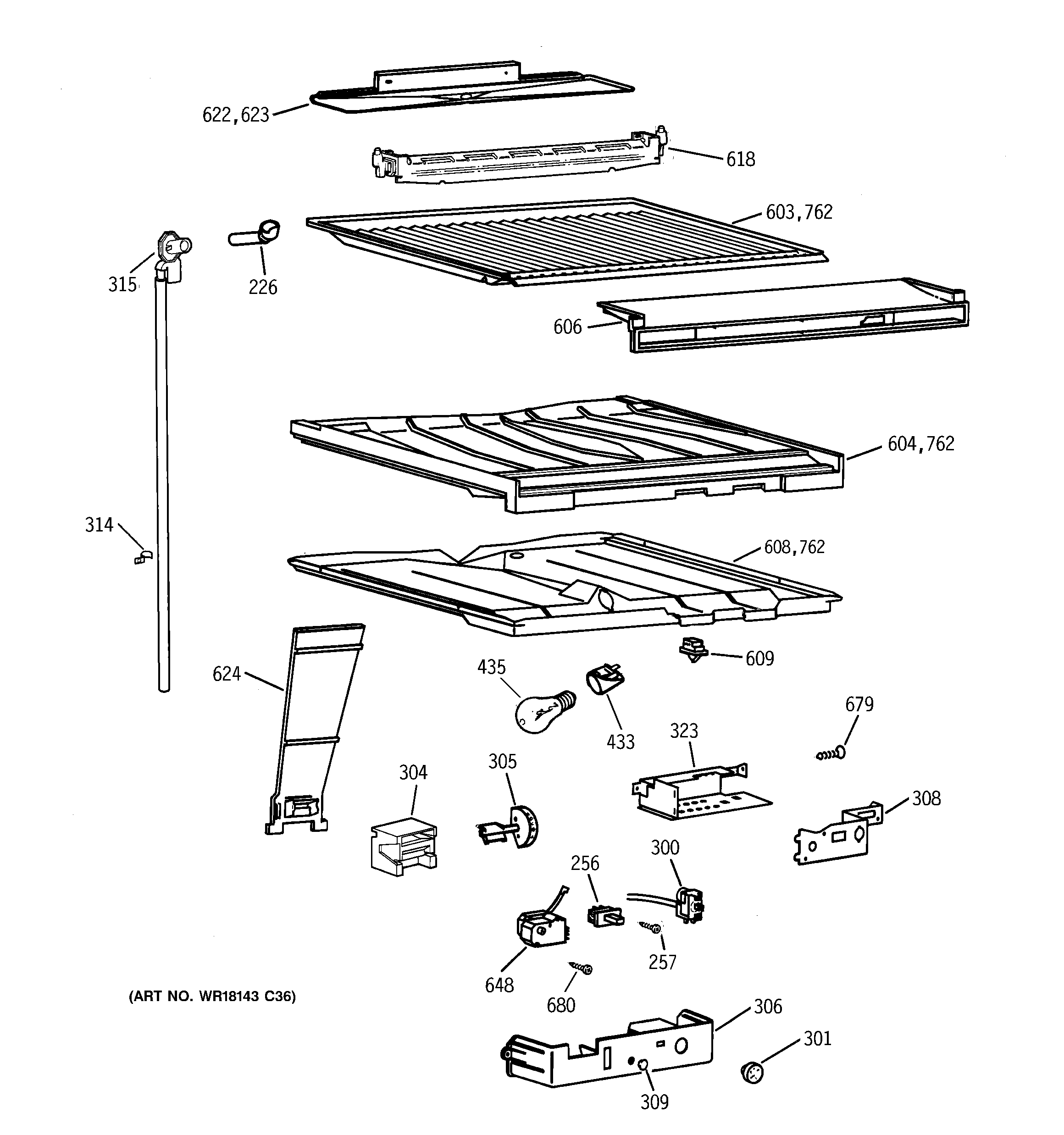
TBX19VAZBRWW COMPARTMENT SEPARATOR PARTS