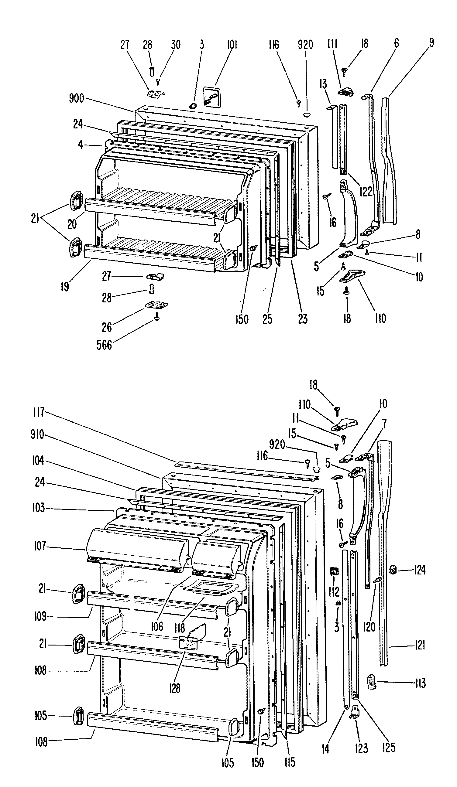
TBX20ZGRR 0admin2025-04-26T08:45:27+00:00TBX20ZGRR 0 ProductsPositionProduct3GEN WR02X37574GEN WR77X04445GEN WR12X04636GEN WR12X04687GEN WR12X04698GEN WR02X49249GEN WR12X050910GEN WR02X714011SCREW 8-18 B 7/1613GEN WR02X494514GEN WR02X494615GEN WR01X156416GEN WR01X156518GEN WR01X156619GEN WR71X168520GEN WR71X168421GEN WR02X723223GEN WR24X030824GEN WR17X158925GEN WR17X120926GEN WR02X740227GEN WR02X728128GEN WR02X627830SCREW101GEN WR03X0408103GEN WR77X0446104GEN WR24X0309105GEN WR02X7233106GEN WR22X0303107GEN WR22X0308108GEN WR71X1686109GEN WR71X1687110GEN WR02X7231111GEN WR02X4929112GEN WR04X0173113GEN WR12X0320115GEN WR17X1530116GEN WR01X1570117GEN WR38X1033118GEN WR19X5003120GEN WR01X1593121GEN WR12X0511122GEN WR12X0471123GEN WR02X4950124GASKET DOOR FZ BLACK125GEN WR12X0519128GEN WR02X7234150SCREW SW. CRADLE216GEN WR01X1332253GEN WR02X7498341GEN WR02X7053557SCREW 8-40X1/2 SPEC DRIL564SCR 6-20 AB TR 3/8 SS566GEN WR01X1487573GEN WZ04X0254684SCREW687SCREW 6-18 X 1/2" ROUND825GEN WR02X7288900GEN WR78X7433901GEN WR78X7434902GEN WR78X7435903GEN WR78X7504904GEN WR78X7505910GEN WR78X7436911GEN WR78X7437912GEN WR78X7438913GEN WR78X7506914GEN WR78X7507920GEN WR02X4930921GEN WR02X4931922GEN WR02X4932923GEN WR02X4933924GEN WR02X4934925GEN WR02X7241926GEN WR02X72429999GEN 31-50119999GEN 49-6393