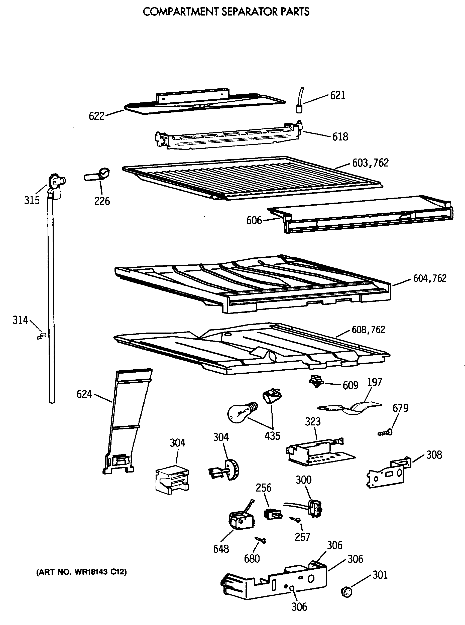
TBX21MAXDRAA COMPARTMENT SEPARATOR PARTSadmin2025-04-26T10:50:49+00:00TBX21MAXDRAA COMPARTMENT SEPARATOR PARTS ProductsPositionProduct197GEN WR02X8378226GEN WR02X7640256GEN WR23X0309257WZ5X158D GE Screw Package of 12300GEN WR09X0559300WR2X8344 GE Refrigerator Vinyl Sleeve301GEN WR02X8692304GEN WR02X8363304GEN WR02X9303306GEN WR17X3196306GEN WR02X7652306GEN WR02X7669308GEN WR02X7768314GEN WR02X8503315GROMMET DRAIN & TUBE323GEN WR02X7767435GEN WR02X8202435RANGE ONLY 40W 120V APPL BULB603GEN WR17X2234604GEN WR17X3495606GEN WR17X2401608GEN WR17X2796609WR23X37285 GE Light Switch618WR51X465 GE Refrigerator 21 1/2" Long Defrost Heater621GEN WR02X4495622WR17X2243 GE Refrigerator Drain Trough622GEN WR14X0348624GEN WR17X3910648WR9X520 GE Refrigerator Defrost Timer 15 Hour 44 Minute679SCREW BRKT. EVAP. FAN680WR1X1850 GE Refrigerator Screw762GEN WR14X0313