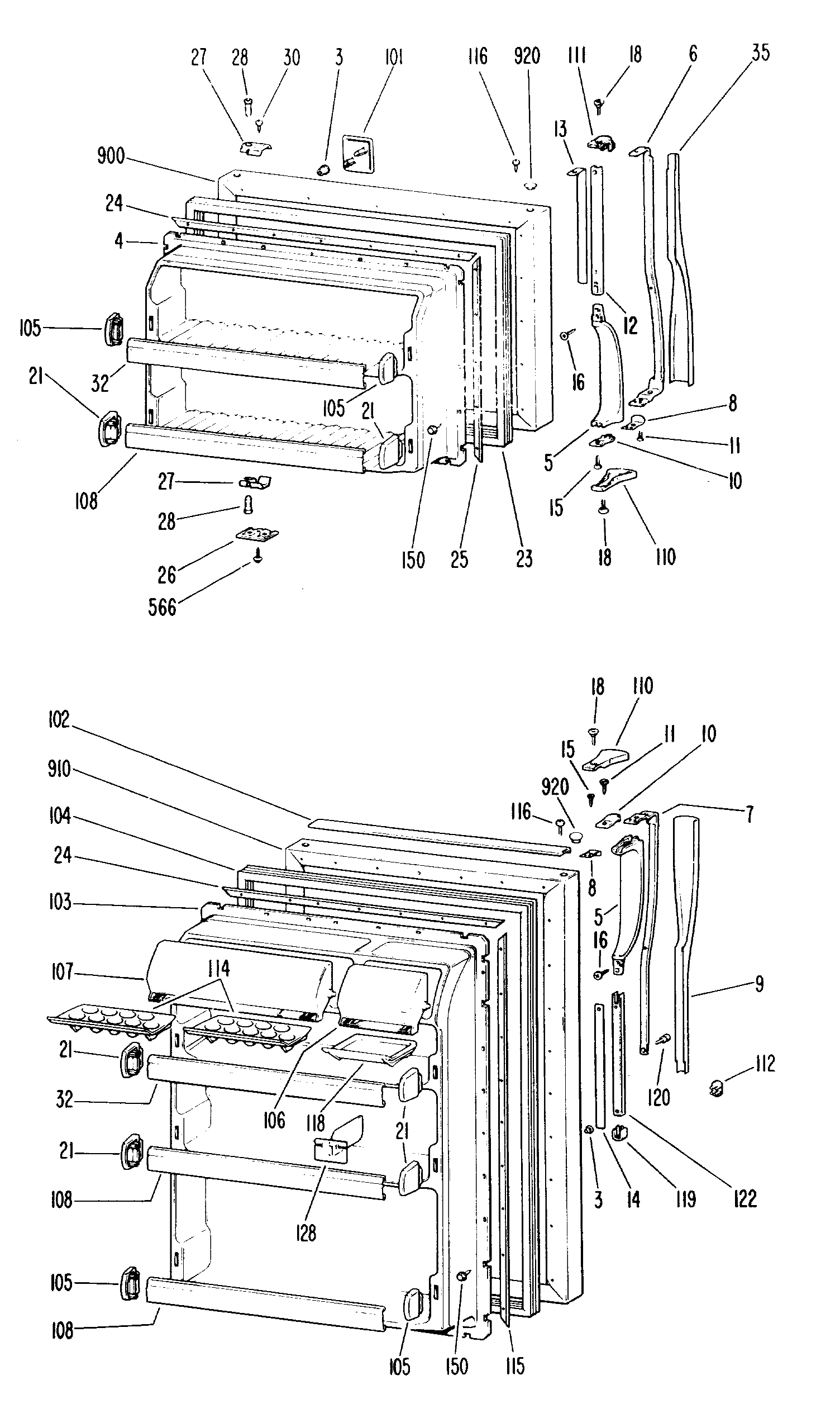
TBX23CGBR 0admin2025-04-26T10:48:58+00:00TBX23CGBR 0 ProductsPositionProduct3GEN WR02X37574GEN WR77X04485GEN WR12X04636GEN WR12X05077GEN WR12X04698GEN WR02X49249GEN WR12X050910GEN WR02X714011SCREW 8-18 B 7/1612GEN WR12X051013GEN WR02X714114GEN WR02X494615GEN WR01X156416GEN WR01X156518GEN WR01X156621GEN WR02X723223GEN WR24X038924GEN WR17X190925GEN WR17X191026GEN WR02X723027GEN WR02X728128GEN WR02X627830SCREW32GEN WR71X169235INSERT-FZ DR. HANDLE101GEN WR03X0408102GEN WR38X1035103GEN WR77X0449104GEN WR24X0390105GEN WR02X7233106GEN WR22X0303107GEN WR22X0309108GEN WR71X1689110GEN WR02X7231111GEN WR02X4929112GEN WR04X0173114GEN WR19X0030115GEN WR17X1530116GEN WR01X1570118GEN WR19X5003119GEN WR02X4928120GEN WR01X1592122GEN WR12X0471128GEN WR02X7234150SCREW SW. CRADLE176GEN WZ05X0166216GEN WR01X1332285BAFFLE AIR DEFLECTOR285FASTENER-DEFLECTOR286FABBLE AIR COND FAN293GEN WR02X7080304GEN WR02X7139305GEN WR02X7009317GEN WR02X7076317GEN WR02X7075445R-E-D SERVICE PKG.553SCR 6-20 B TR 1/4 SS562SCR 12-24 TT HXW 1 3/64S566GEN WR01X1487573GEN WZ04X0254601GEN WR17X1552605GEN WR17X1999606GEN WR17X2000649GEN WR02X7027680SCR 8-18 AB HX 1/2S W687SCREW 6-18 X 1/2" ROUND694GEN WZ05X0247731CLIP COND734GEN WR02X3583734COVER RELAY900GEN WR78X7447902GEN WR78X7449903GEN WR78X7508910GEN WR78X7450912GEN WR78X7452913GEN WR78X7510920GEN WR02X4930924GEN WR02X4934925GEN WR02X72419999GEN 31-50119999GEN 49-6379