TBX23ZGBR 0

TBX23ZGBR 0

Products

PositionProduct
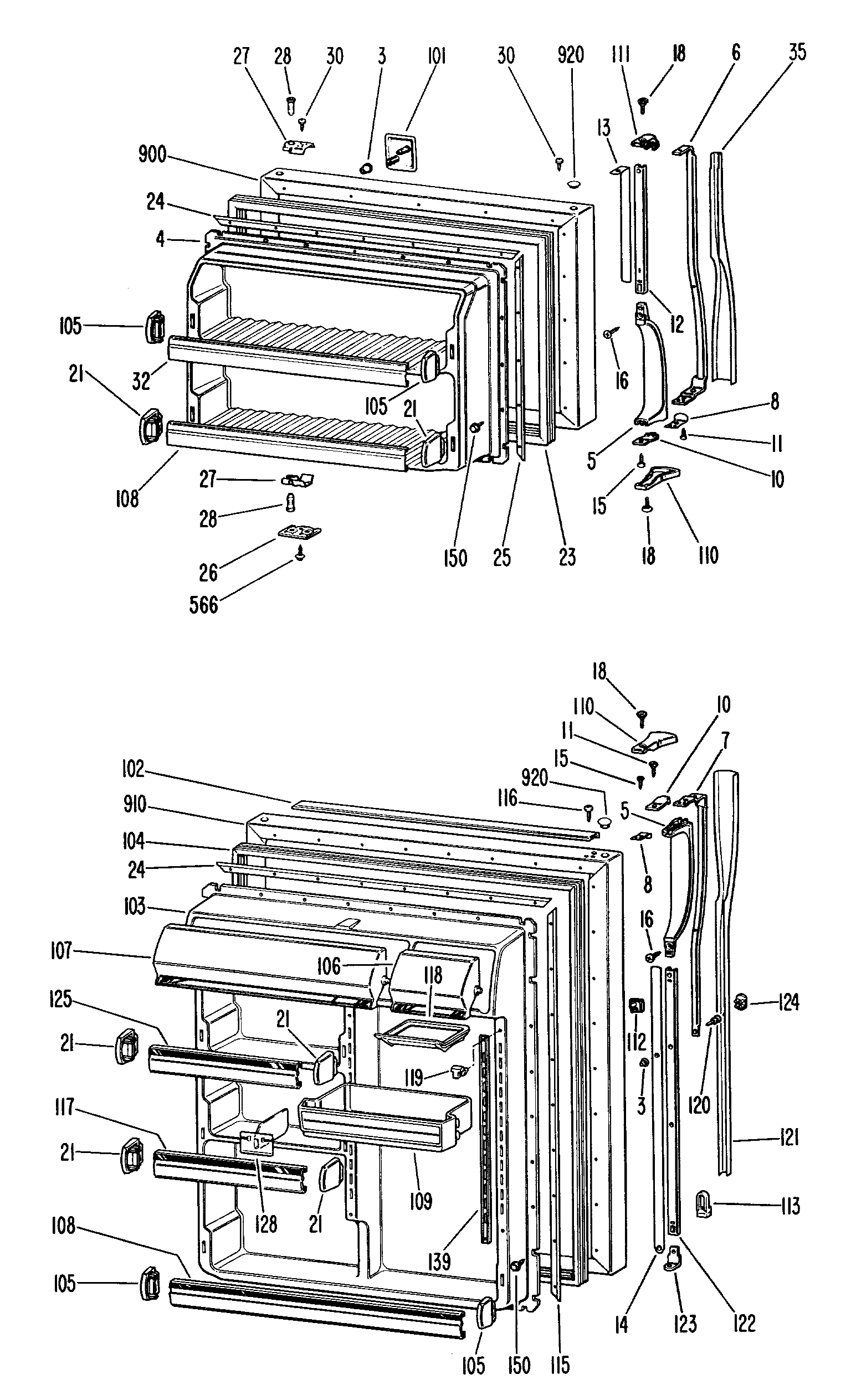
3GEN WR02X3757
4GEN WR77X0448
5GEN WR12X0463
6GEN WR12X0507
7GEN WR12X0469
8GEN WR02X4924
10GEN WR02X7140
11SCREW 8-18 B 7/16
12GEN WR12X0510
13GEN WR02X7141
14GEN WR02X4946
15GEN WR01X1564
16GEN WR01X1565
18GEN WR01X1566
21GEN WR02X7232
23GEN WR24X0389
24GEN WR17X1909
25GEN WR17X1910
26GEN WR02X7230
27GEN WR02X7281
28GEN WR02X6278
30SCREW
32GEN WR71X1692
35INSERT-FZ DR. HANDLE
35GEN WR12X0529
101GEN WR03X0409
102GEN WR38X1035
103GEN WR77X0447
104GEN WR24X0390
105GEN WR02X7233
106GEN WR22X0303
107GEN WR22X0309
108GEN WR71X1689
109GEN WR71X1688
110GEN WR02X7231
111GEN WR02X4929
112GEN WR04X0174
112GEN WR04X0173
113GEN WR12X0320
115GEN WR17X1530
116GEN WR01X1570
117GEN WR71X1690
118GEN WR19X5003
119GEN WR02X7287
120GEN WR01X1593
121GEN WR12X0511
121GEN WR12X0527
122GEN WR12X0519
123GEN WR02X4950
124GASKET DOOR FZ BLACK
124GEN WR12X0528
126GEN WR71X1691
128GEN WR02X7234
139GEN WR72X0080
150SCREW SW. CRADLE
176GEN WZ05X0166
217GEN WR38X1006
234GEN WR14X0321
236GEN WR32X0867
252GEN WR01X1647
305GEN WR02X7009
306GEN WR17X1605
306INSUL CONTROL HSG
317GEN WR02X7076
317GEN WR02X7075
475GROMMET SCR
553SCR 6-20 B TR 1/4 SS
562SCR 12-24 TT HXW 1 3/64S
566GEN WR01X1487
602GEN WR82X0247
611BRACKET EVAP FAN LARGE
612BRACKET EVAP FAN
631GEN WR02X4829
631PLUG BTN (.875 DIA.HOLE)
649GEN WR02X7027
680SCR 8-18 AB HX 1/2S W
684SCREW
687SCREW 6-18 X 1/2" ROUND
691GEN WR01X1644
691GEN WR01X1594
694GEN WZ05X0247
731CLIP COND
734GEN WR02X3583
734COVER RELAY
900GEN WR78X7447
901GEN WR78X7448
902GEN WR78X7449
903GEN WR78X7508
904GEN WR78X7509
910GEN WR78X7450
911GEN WR78X7451
912GEN WR78X7452
913GEN WR78X7510
914GEN WR78X7511
920GEN WR02X4930
921GEN WR02X4931
924GEN WR02X4934
925GEN WR02X7241
926GEN WR02X7242
9999GEN 31-5011
9999GEN 49-6379