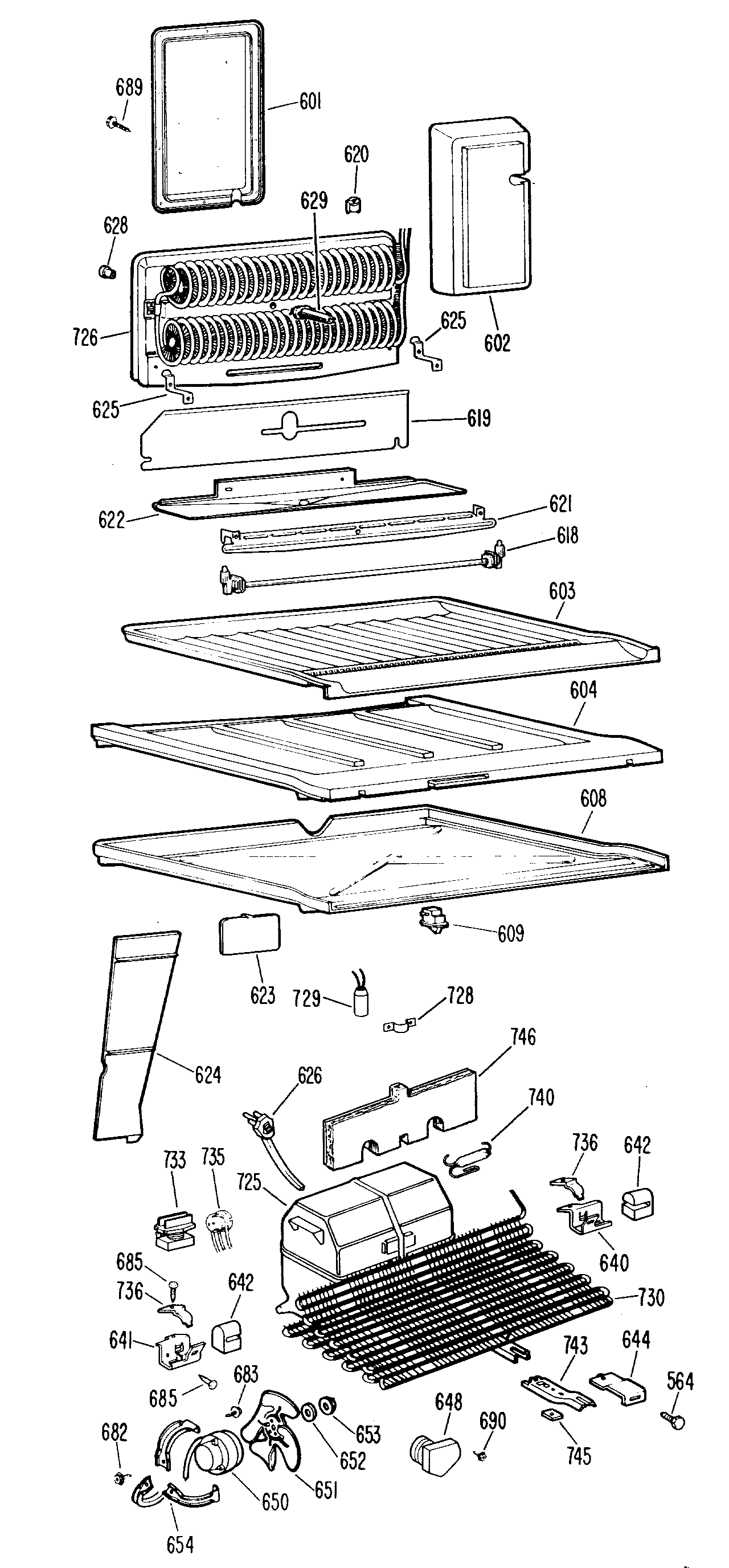
| 564 | SCR 6-20 AB TR 3/8 SS |
| 601 | GEN WR17X1552 |
| 602 | GEN WR82X0247 |
| 603 | GEN WR17X1918 |
| 603 | WR1X1591 GE Refrigerator Screw |
| 604 | GEN WR17X1917 |
| 608 | GEN WR14X0313 |
| 608 | GEN WR17X1906 |
| 609 | WR23X37285 GE Light Switch |
| 618 | WR51X466 GE Refrigerator Defrost Heater |
| 619 | SHIELD HEAT |
| 620 | WR50X60 GE Refrigerator Defrost Thermostat |
| 621 | GEN WR02X7153 |
| 621 | GEN WR02X4495 |
| 622 | GEN WR14X0314 |
| 622 | GEN WR17X1912 |
| 623 | COVER DUCT FF |
| 623 | GEN WR14X0289 |
| 624 | GEN WR17X1914 |
| 625 | GEN WR02X7144 |
| 626 | WR1X5278 GE Refrigerator Cable Clamp |
| 626 | WR23X10300 GE Refrigerator Power Cord Assembly |
| 628 | GEN WR02X7026 |
| 629 | SUPPORT EVAPORATOR COVER |
| 648 | WR9X502 GE Refrigerator Defrost Timer |
| 648 | GEN WR02X7027 |
| 650 | WR60X187 GE Refrigerator Condenser Fan Motor |
| 651 | GEN WR60X0167 |
| 651 | WASHER COND MTR |
| 683 | SCREW |
| 683 | SCREW FAN MTR/BRKT |
| 689 | WZ5X246 GE Screw |
| 690 | WZ5X158D GE Screw Package of 12 |
| 725 | REFRIGERANT |
| 725 | GEN WR87X0207 |
| 726 | GEN WR85X0203 |
| 729 | WR62X51 GE Refrigerator Capacitor |
| 730 | GEN WR84X0107 |
| 733 | GEN WR07X0185 |
| 735 | GEN WR08X0090 |
| 740 | WR86X25269 GE Refrigerator R134 Dryer |