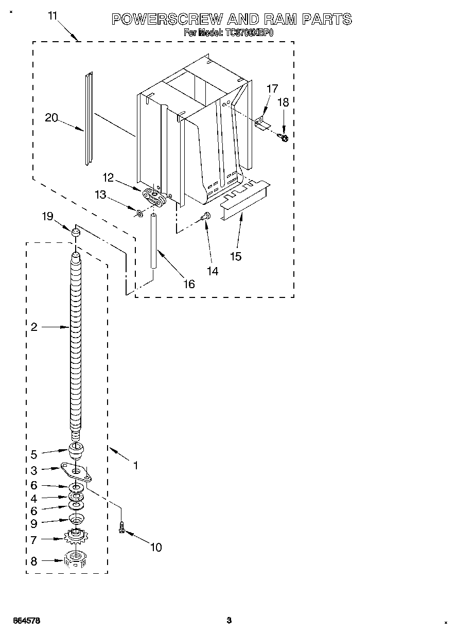
TC8700XBP0 03 – POWERSCREW AND RAM