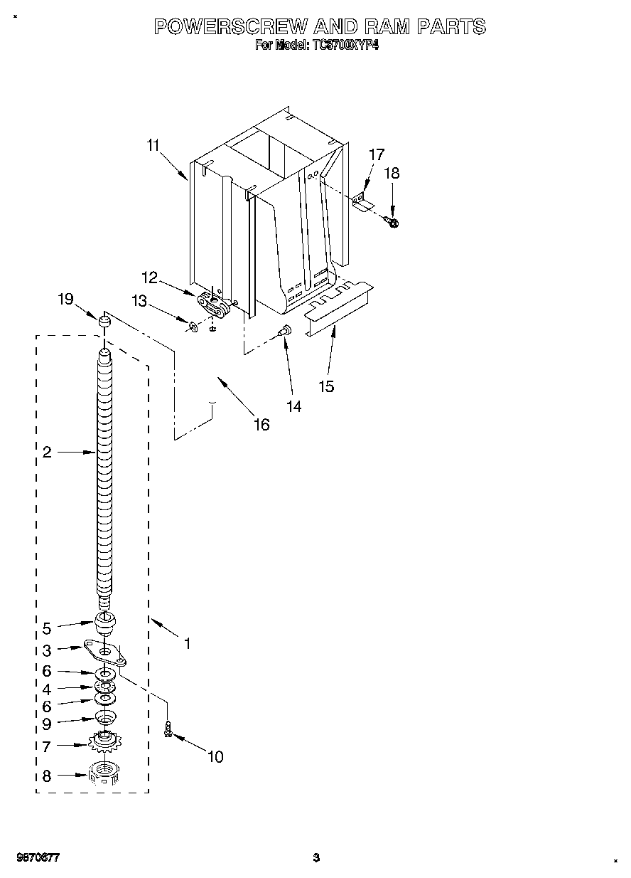
TC8700XYP4 03 – POWERSCREW AND RAMadmin2025-04-26T11:19:48+00:00TC8700XYP4 03 – POWERSCREW AND RAM ProductsPositionProduct1WPW10451272 Whirlpool Trash Compactor Power Screw2Screw, Power (Available Only As Complete Assembly)3779121 Whirlpool Compactor Plate4W10917043 Whirlpool Compactor Bearing5776941 Whirlpool Compactor Power Crew Hub6775481 Whirlpool Compactor Bearing7SPROCKET84154842 Whirlpool Compactor Nut9WP777332 Whirlpool Compactor Washer10Screw, 1/4-20 x 3/4 (4)11Ram Assembly (Not Serviceable)12WP9870163 Whirlpool Compactor Trunnion Nut13WP90296 Whirlpool Clip14882694 Whirlpool Compactor Stud15Wiper16WP9870037 Whirlpool Ram Stop17Bracket, Top Limit Switch18WP3351614 Whirlpool Screw19WP9870775 Whirlpool Compactor Power Screw Cap