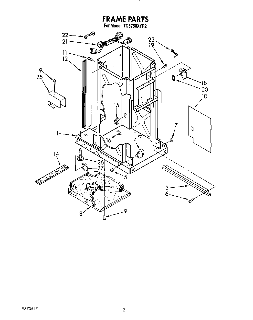
TC8750XYP2 02 – FRAME