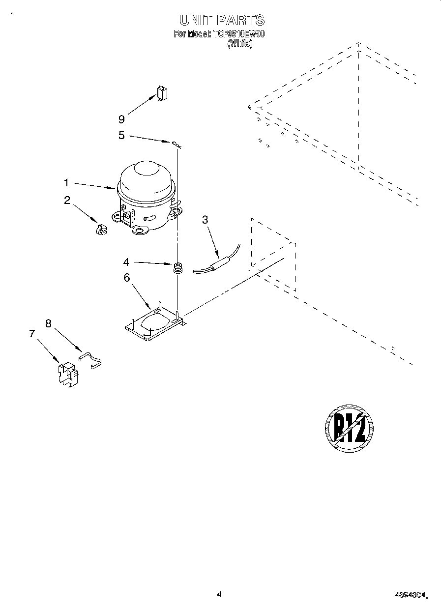
TCF0510EW00 03 – SECTIONadmin2025-04-26T11:20:39+00:00TCF0510EW00 03 – SECTION ProductsPositionProduct1W10823815 Whirlpool Refrigerator Compressor2Relay3W10843121 Whirlpool Refrigerator Tube4Grommet, Mounting Compressor5Clip, Hitch Pin6Base, Compressor7Cover8Clip, Cover9WPW10662129 Whirlpool Refrigerator Run Capacitor