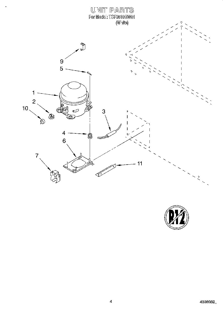
TCF0510GW01 03 – SECTIONadmin2025-04-26T11:21:22+00:00TCF0510GW01 03 – SECTION ProductsPositionProduct1Compressor (Includes Items 2, 3, 4, 5, 7 & 8)2Relay3W10843121 Whirlpool Refrigerator Tube4Grommet, Mounting Compressor5Clip, Hitch Pin6Base, Compressor7Cover9Capacitor10Overload113-81556-001 Whirlpool Brace