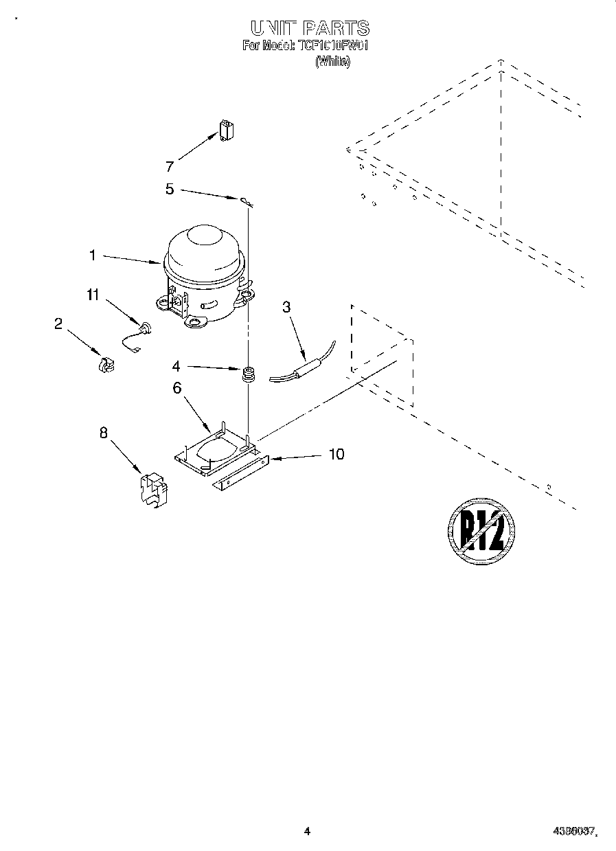
TCF1010FW01 03 – SECTIONadmin2025-04-26T11:20:14+00:00TCF1010FW01 03 – SECTION ProductsPositionProduct1Compressor (Includes Items 2, 3, 4, 5, 7 & 8)2Relay3W10843121 Whirlpool Refrigerator Tube4Grommet, Mounting Compressor5Clip, Hitch Pin6Base, Compressor7Capacitor8Cover103-81556-001 Whirlpool Brace11Overload