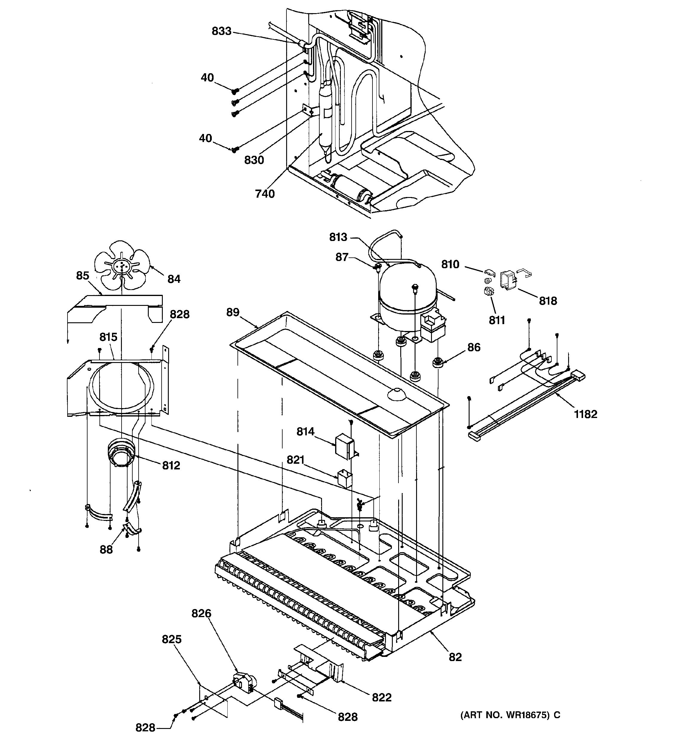
TCX22PACAAA MACHINE COMPARTMENT ASSEMBLYadmin2025-04-26T10:41:37+00:00TCX22PACAAA MACHINE COMPARTMENT ASSEMBLY ProductsPositionProduct40WE02X10011 GE Screw82GEN WR84X021584GEN WR60X027185GEN WR14X049186GEN WR02X951687GEN WR01X218588GEN WR02X879589GEN WR17X10444740WR86X25269 GE Refrigerator R134 Dryer810GEN WR08X0177811GEN WR07X0245812GEN WR84X10014813GEN WR87X10017814GEN WR02X9522815GEN WR17X10443818GEN WR02X9542821GEN WR62X0092822GEN WR02X10493825GEN WR02X10489826WR9X502 GE Refrigerator Defrost Timer828GEN WR01X2187830GEN WR02X8796833GEN WR01X21841182GEN WR23X10080