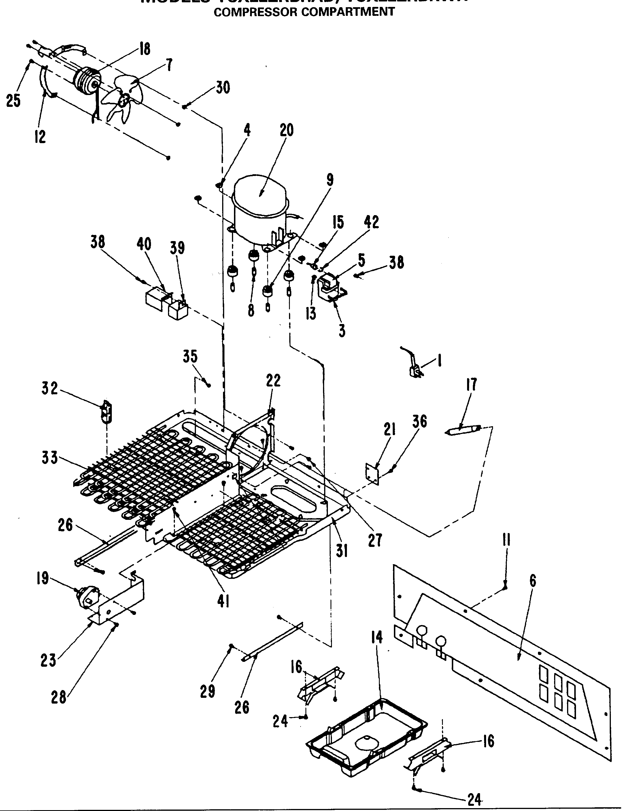
TCX22ZRBRWH COMPRESSOR COMPARTMENTadmin2025-04-26T10:39:59+00:00TCX22ZRBRWH COMPRESSOR COMPARTMENT ProductsPositionProduct1WR23X10300 GE Refrigerator Power Cord Assembly6BAFFLE BACK7BLADE,FAN8SLEEVE,VINYL9GEN WR02X744211GEN WR01X560912BRACKET,CONDENSER FAN13GEN WR07X513814GEN WR17X631015GUARDETTE16SUPPORT,DRAIN PAN17WR86X25269 GE Refrigerator R134 Dryer18MOTOR,CONDENSER19WR9X502 GE Refrigerator Defrost Timer20COMPRESSOR21GEN WR02X844022CONDENSER FAN SHROUD23BRACKET TIMER25GEN WR01X560226GEN WR17X307827GEN WR01X560328SCREW30UNKNOWN31GEN WR32X116832UNKNOWN33GEN WR84X010235UNKNOWN36WR1X2130 GE Refrigerator Screw38GEN WR01X181040GEN WR02X751141SCREW,SM LG.HOUSING42CLIP,OVERLOAD