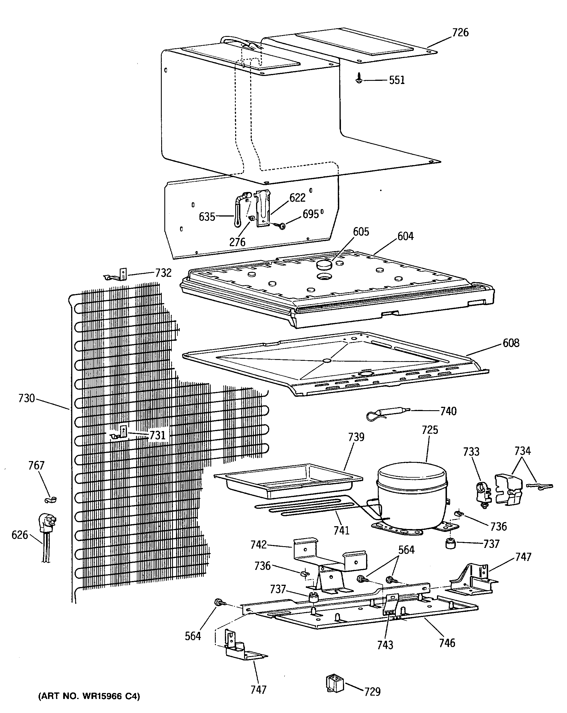
TDX15SNSBLAD 2