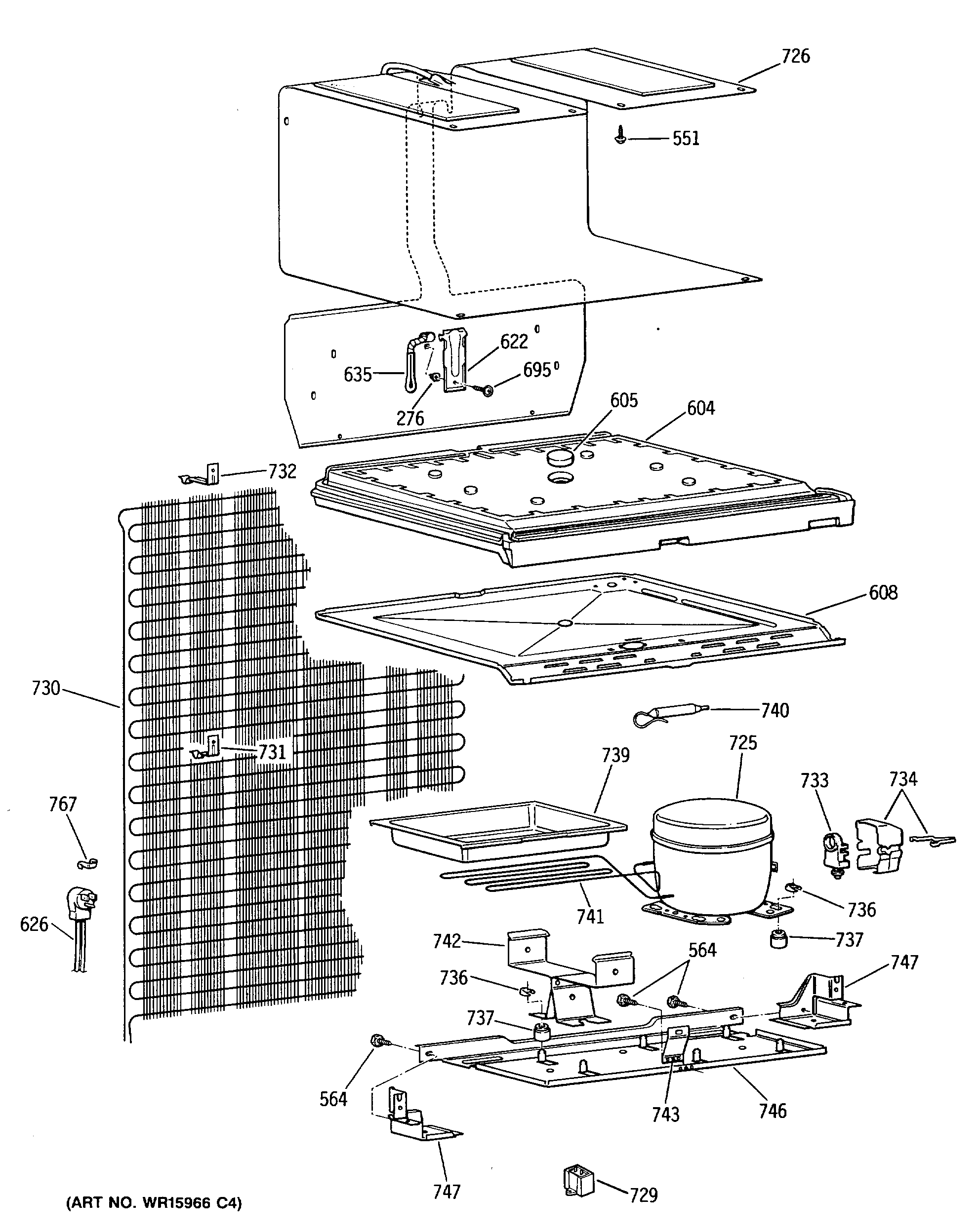
TDX15SNSBRAD 2