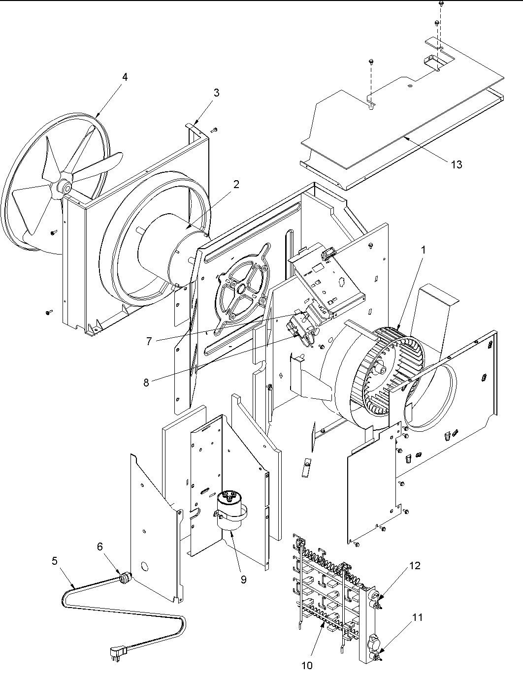
TE10085W2B 02 – Fan and Control Assyadmin2025-04-26T08:53:22+00:00TE10085W2B 02 – Fan and Control Assy ProductsPositionProduct1MAY BT13680052MAY BT13400123MAY BT33110004MAY BT10867035MAY BT12100066MAY BT13921077MAY BT13708328MAY BT13708079MAY BT945701110MAY BT142000811MAY BT124373512MAY BT124373713MAY BT3393010