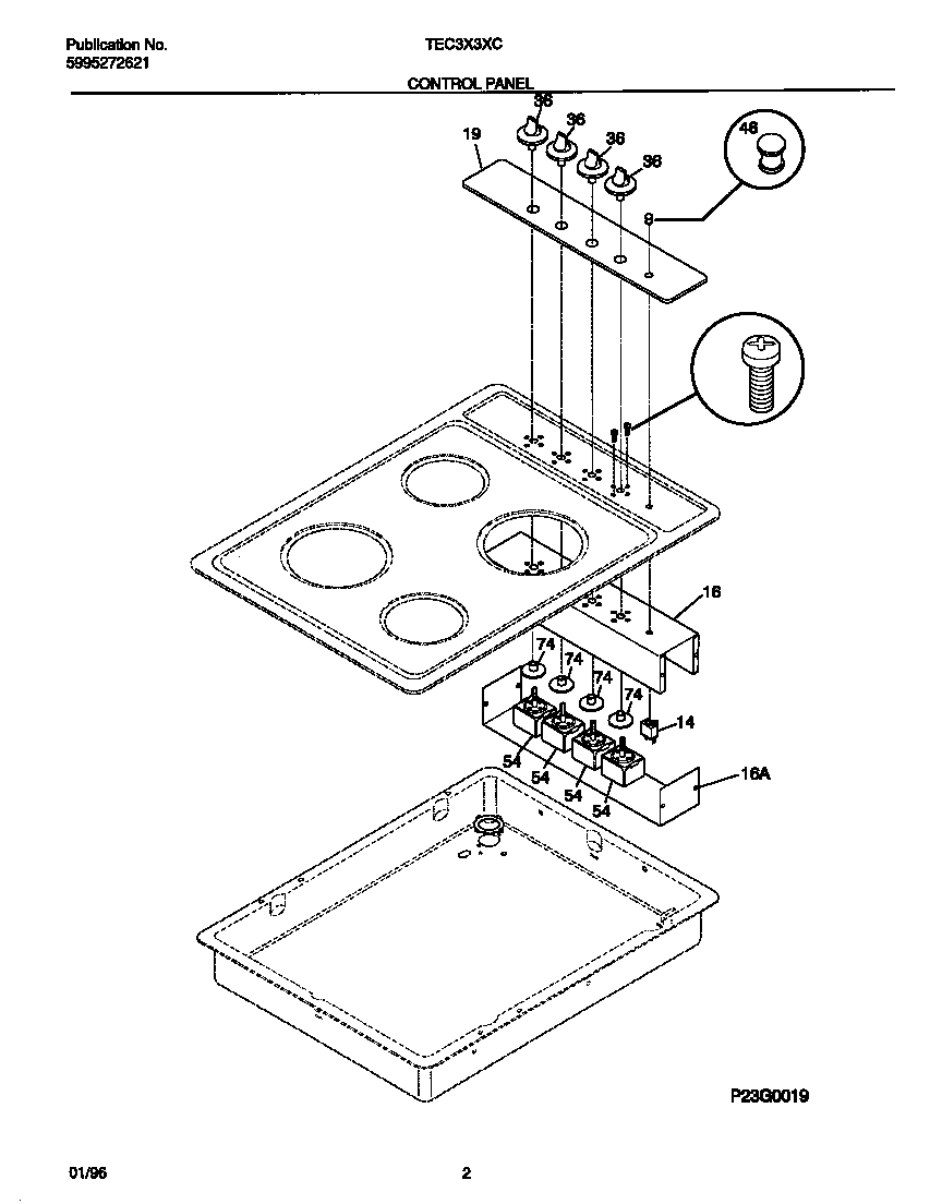
TEC3X3XCCA 02 – CONTROL PANELadmin2025-04-26T10:19:06+00:00TEC3X3XCCA 02 – CONTROL PANEL ProductsPositionProduct14316022503 Frigidaire Light Lamp P-116WCI 530330145716WCI 530330145818WCI 530331126919WCI 31802120536WCI 31801670646318228310 Frigidaire Oven Lens54A5303935086 Frigidaire Oven Top Burner Switch Kit74WCI 08007822