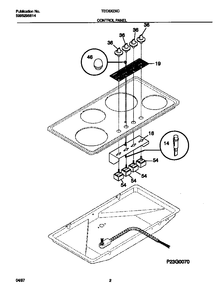
TEC6X2XCW3 02 – CONTROL PANELadmin2025-04-26T10:21:23+00:00TEC6X2XCW3 02 – CONTROL PANEL ProductsPositionProduct*795235304480396 Frigidaire Screw*795205303288565 Frigidaire Screw*79522SEAL SWITCH PROTECTION*795215304500008 Frigidaire Oven Screw14BSEAL-INDICATOR LIGHT14ALIGHT-IND-LOWER OVEN16PLATE, INSTRUMENT MTG19WCI 31802100136WCI 31801670646A5304462665 Frigidaire Oven Lens Kit46BRETAINER-LENS54Switch,surface unit ,small/large