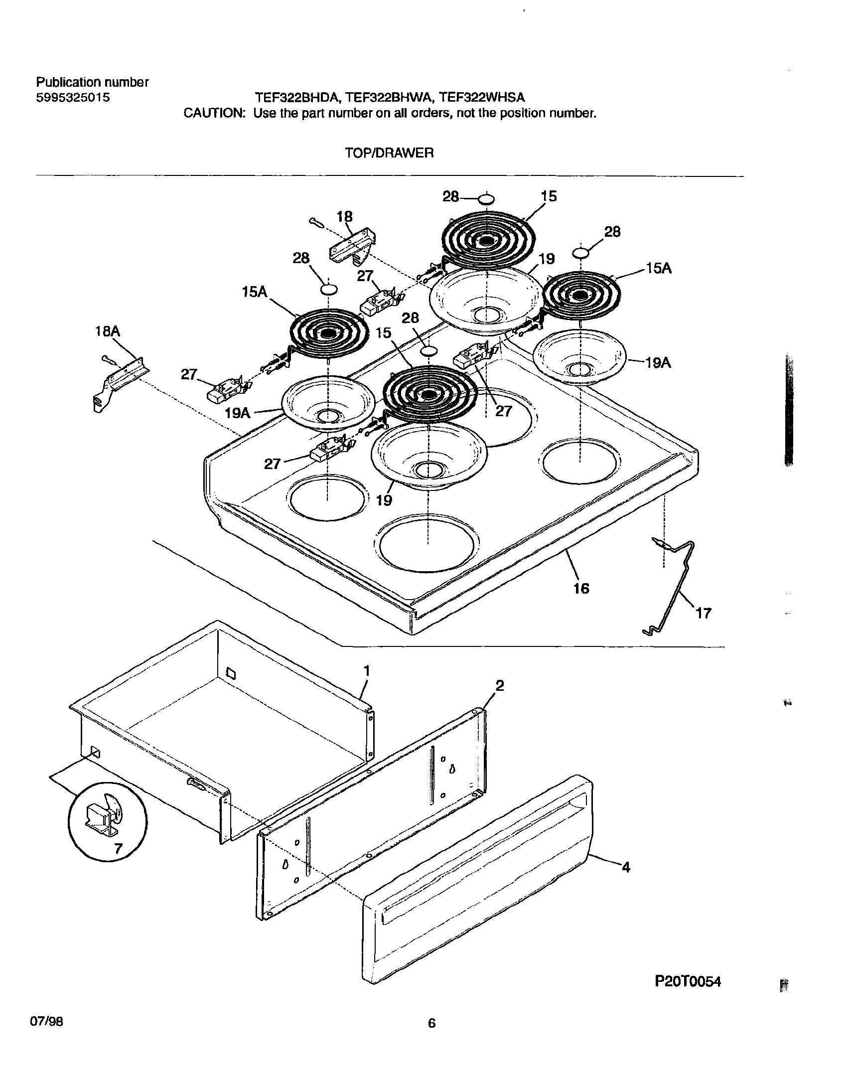
TEF322BHWA 07 – TOP/DRAWERadmin2025-04-26T09:37:39+00:00TEF322BHWA 07 – TOP/DRAWER ProductsPositionProductNIWCI 316001725NI316058601 Frigidaire Oven ClipNIWCI 316089600NIWCI 5303280311NI5308014215 Frigidaire Oven ScrewNIScrew,cup pt ,8-18 x 0.375 ,chromeNI316021109 Frigidaire Oven Screw1DRAWER-UTILITY2SHIELD-PNL4WCI 31608440573051163 Frigidaire Oven Range Rear Broiler Drawer Glide155308011964 Frigidaire Surface Element P115AWCI 31611540016316202388 Frigidaire Oven Maintop17316057601 Frigidaire Oven Rod18AHINGE-MAIN TOP (LH)18HINGE-MAIN TOP (RH)19AL304430992 Frigidaire 6" Drip Bowl Chrome FM19316048413 Frigidaire Oven Range Chrome 8" Drip Bow275303935058 Frigidaire Oven Burner Receptacle Kit