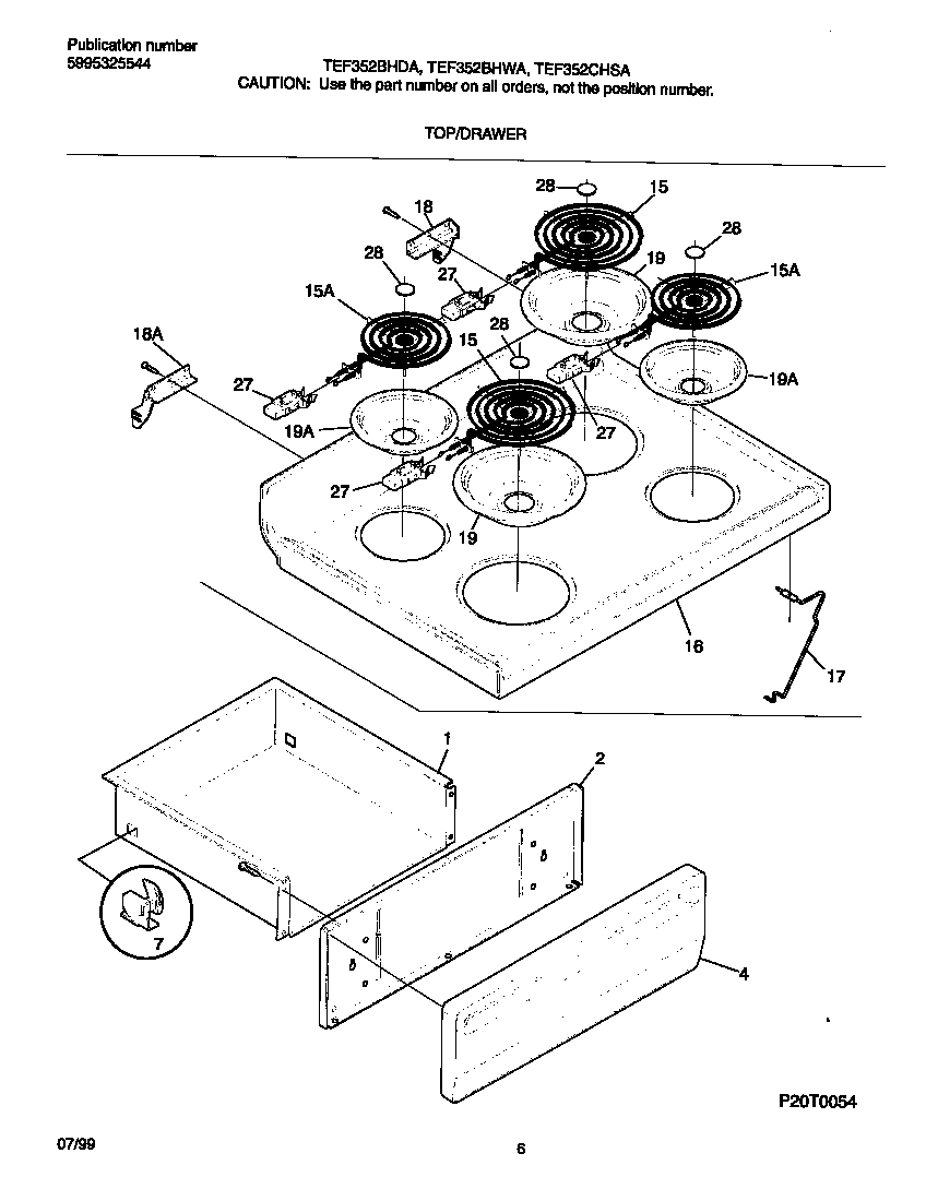
TEF352BHWA 04 – TOP/DRAWERadmin2025-04-26T09:40:10+00:00TEF352BHWA 04 – TOP/DRAWER ProductsPositionProduct*86501316058601 Frigidaire Oven Clip*86496WCI 316001725*86502WCI 316089600*86503WCI 5303280311*865045308014215 Frigidaire Oven Screw*86497Screw,cup pt ,8-18 x 0.375 ,chrome*86498316021109 Frigidaire Oven Screw*86505316021105 Frigidaire Oven Screw1DRAWER-UTILITY2SHIELD-PNL4WCI 31608440573051163 Frigidaire Oven Range Rear Broiler Drawer Glide9WCI 31607380010BWCI 530328030810AWCI 3205234155308011964 Frigidaire Surface Element P115WCI 31611540016316202388 Frigidaire Oven Maintop17316057601 Frigidaire Oven Rod18HINGE-MAIN TOP (LH)18HINGE-MAIN TOP (RH)19L304430992 Frigidaire 6" Drip Bowl Chrome FM19316048413 Frigidaire Oven Range Chrome 8" Drip Bow275303935058 Frigidaire Oven Burner Receptacle Kit