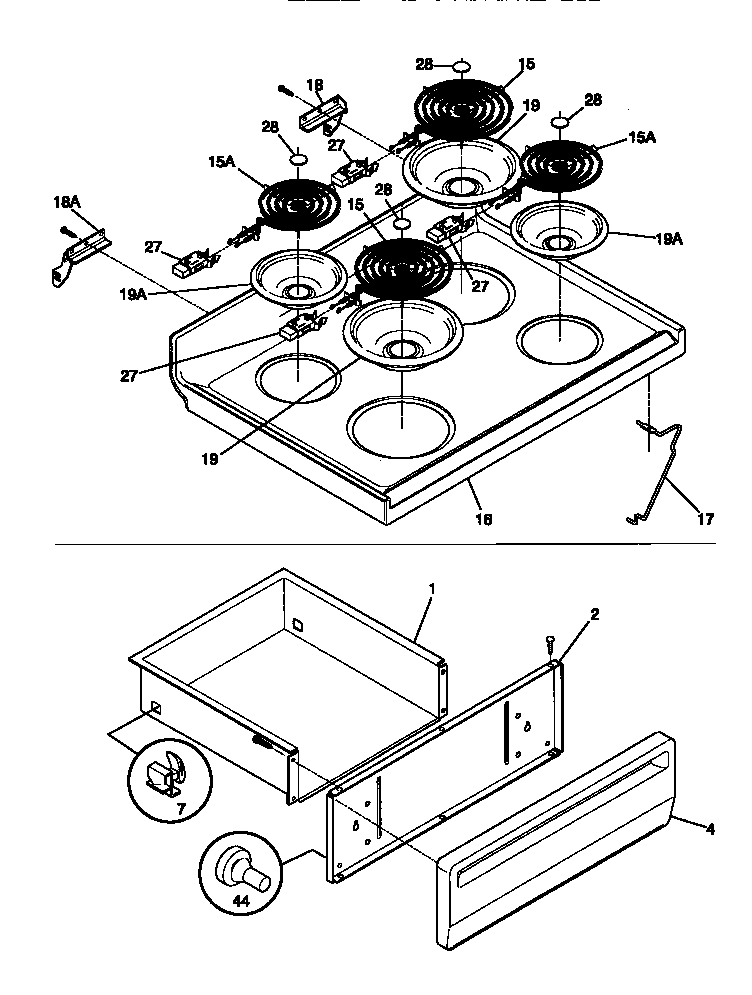
TEF354BCWA 04 – TOP/DRAWER