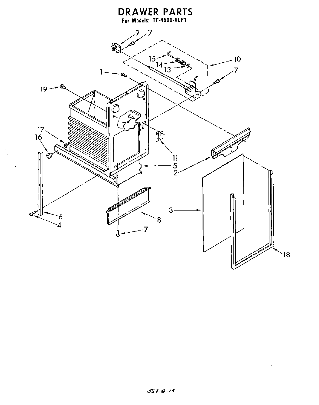
| 2 | WP608732 Whirlpool Compactor Handle |
| 3 | Panel, Container Front (Black & White) |
| 3 | Panel, Container Front (Almond & Harvest Gold) |
| 4 | Screw, 6-20 x 3/8 |
| 5 | Container Assembly |
| 6 | Plate, Trim (2) |
| 7 | WP489069 Whirlpool Compactor Screw |
| 8 | Plate, Toe |
| 9 | WP776395 Whirlpool Compactor Guide |
| 10 | 675379 Whirlpool Compactor Drawer Latch |
| 11 | 775665 Whirlpool Compactor Plate Latch |
| 13 | Ring, ``E`` |
| 14 | 775736 Whirlpool Compactor Spring |
| 15 | Pin |
| 16 | WP9871602 Whirlpool Compactor Bearing |
| 17 | WP776356 Whirlpool Compactor Nut |
| 18 | Trim, Container (Front) |
| 19 | Bumper, Container (2) |