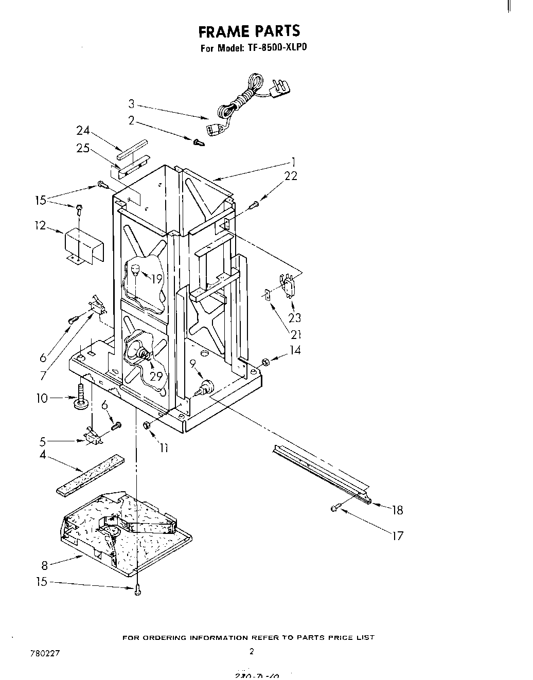
TF8500XLP0 02 – FRAME