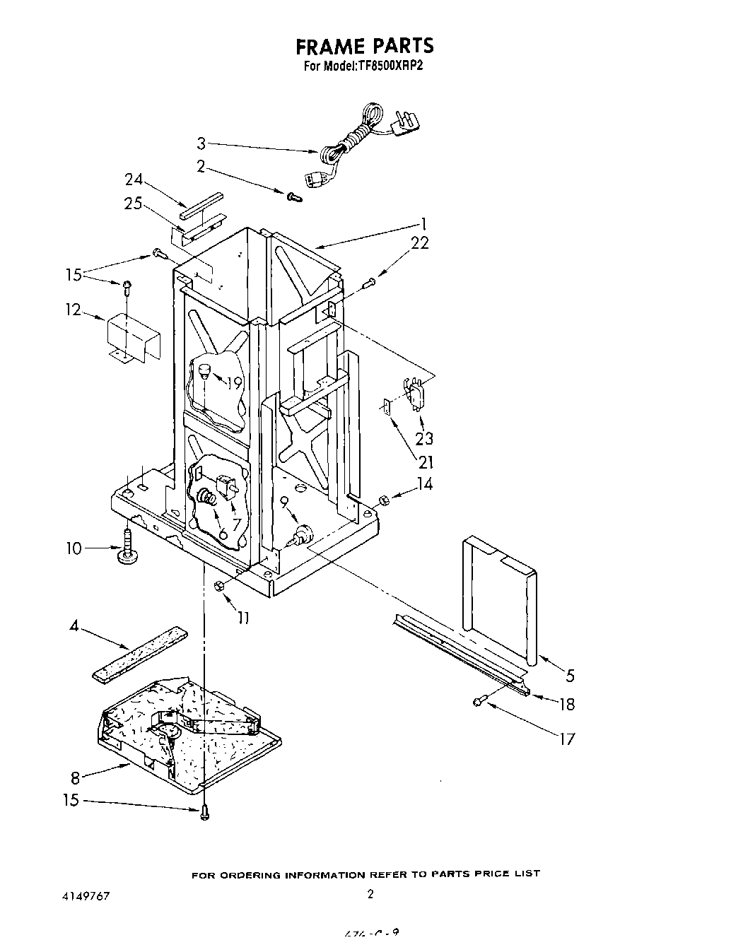
TF8500XRP2 02 – FRAME