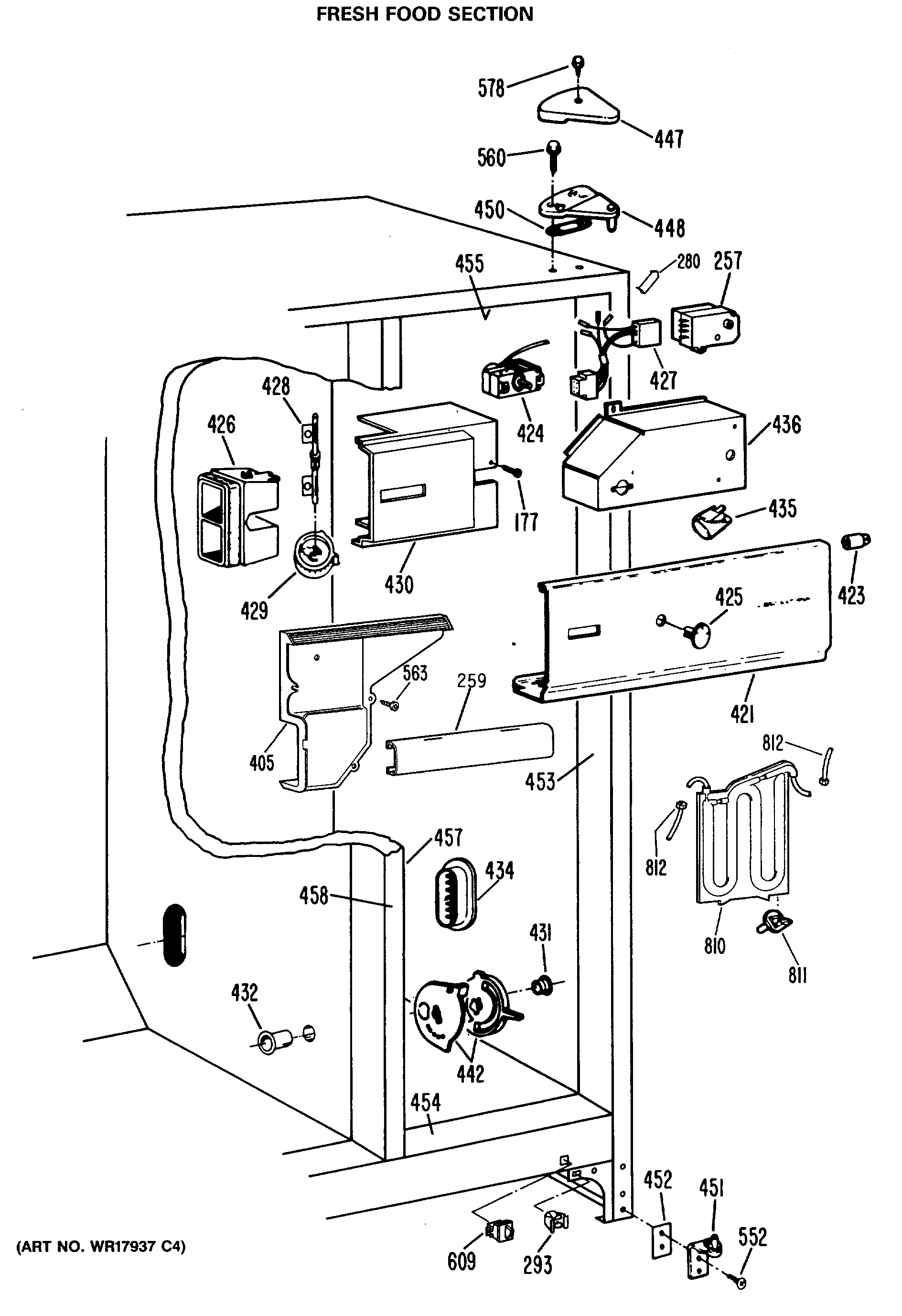
TFEA24RRAAD FRESH FOOD SECTION