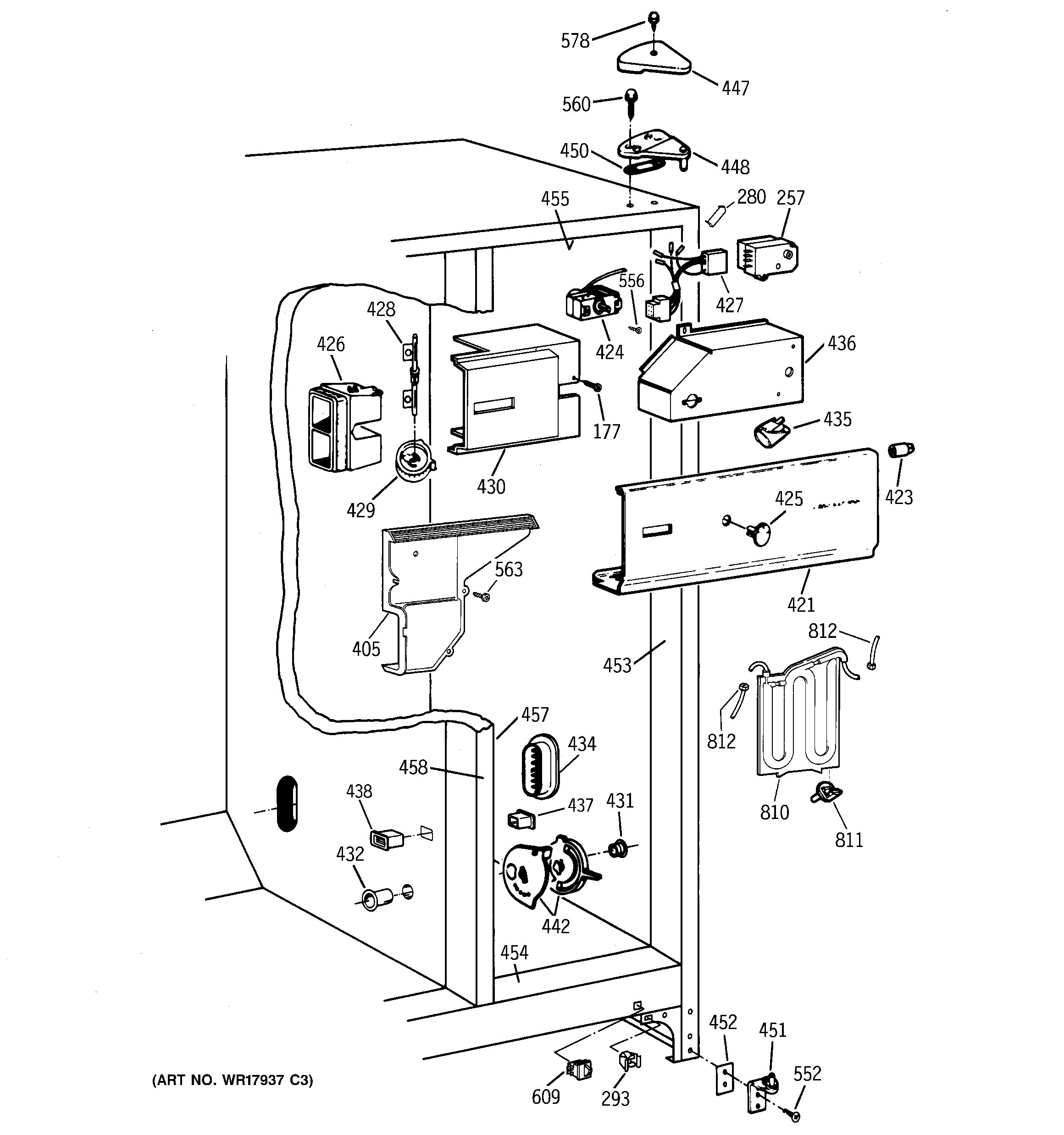
TFEW27FPAWH FRESH FOOD SECTIONadmin2025-04-26T10:40:37+00:00TFEW27FPAWH FRESH FOOD SECTION ProductsPositionProduct177SCREW257WR9X502 GE Refrigerator Defrost Timer280GEN WR02X8518293GEN WR02X7080405GEN WR17X1523405GEN WR14X0264421GEN WR17X2692423GEN WR02X6347424GEN WR09X0500425KNOB FRZ CONTROL426GEN WR02X8514426GEN WR02X4834426GEN WR14X0369427GEN WR23X0357428GEN WR02X8497429GEN WR02X8498430GEN WR17X2209431GEN WR02X6146432GEN WR02X3886434GEN WR02X7367435WR2X9391 GE Socket and Terminal435RANGE ONLY 40W 120V APPL BULB436GEN WR02X7736437GEN WR02X7476438GEN WR02X8064442GEN WR02X3884442KNOB CONTROL442GEN WR02X7035447GEN WR02X8333448GEN WR13X0620450GEN WR02X4194451GEN WR13X0621452NUTSTRIP HINGE453GEN WR40X1623454GEN WR40X1621455GEN WR40X1627457GEN WR40X1625458GEN WR02X4739458GEN WR02X7031458GEN WR40X1620458GEN WR02X7033552SCR 12-24 TT HXW 1 3/64S556SCR 8-32 MA TR 1/4 SS560GEN WR01X1249560GEN WR01X1806609WR23X37285 GE Light Switch810GEN WR17X2890811GEN WR02X4469812WR17X2891 GE Refrigerator 5/16" X 6FT Plastic Water Line Tubing