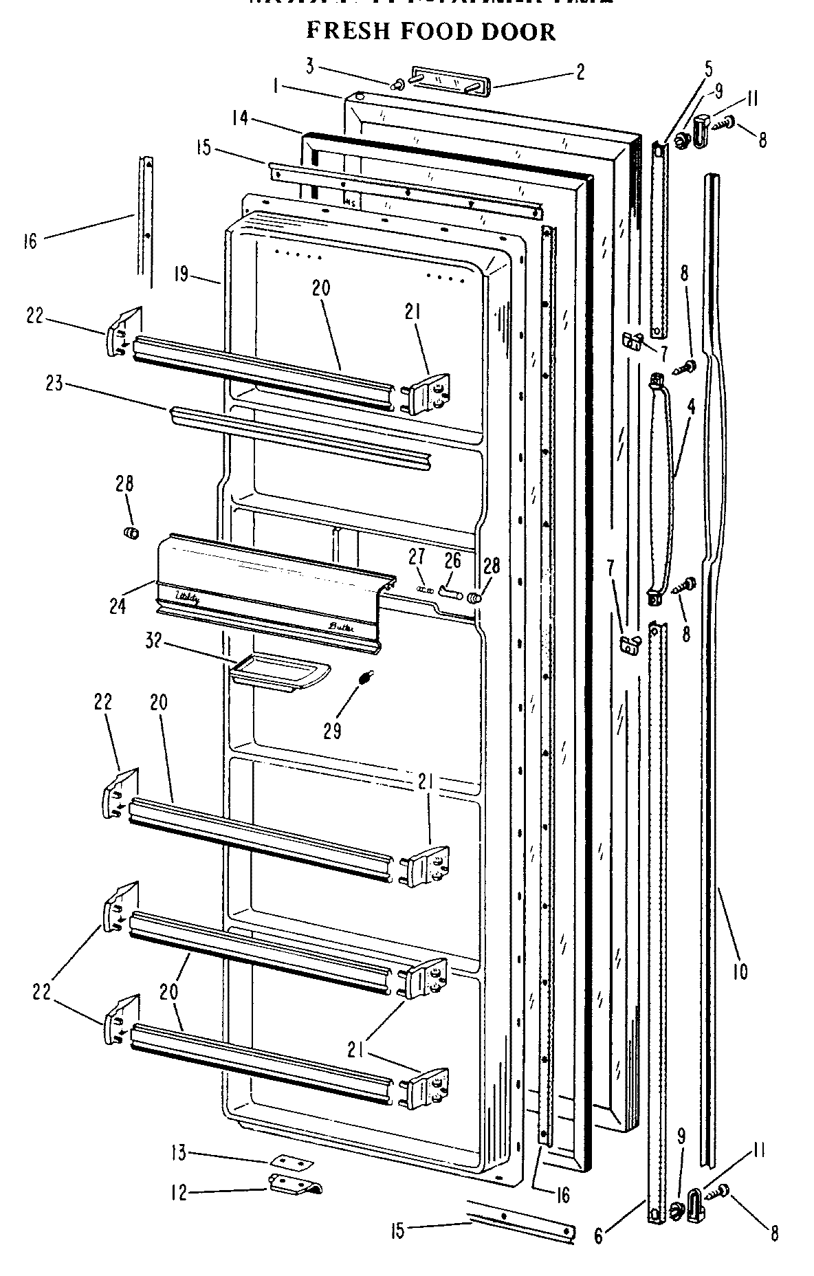
TFF18DMB FRESH FOOD DOOR?admin2025-04-26T10:42:03+00:00TFF18DMB FRESH FOOD DOOR? ProductsPositionProduct1GEN WR78X43951GEN WR78X43981GEN WR78X43971GEN WR78X43961GEN 30-63412GEN WR03X03893GEN WR01X37574GEN WR12X03175GEN WZ09X00136GEN WR12X03437GEN WR01X12468GEN WZ05X01669SCR 10-12 BAT HXW 1 S9GEN WR01X124710GEN WR12X036411GEN WR12X032012DOOR STOP - BOTH DOORS13SHIM - STOP13GEN WR01X138214GEN WR24X024915GEN WR17X115316GEN WR17X118419SCREW SW. CRADLE19GEN WR77X025920GEN WR71X128821GEN WR02X407222GEN WR02X407323GEN WR01X130523GEN WR38X082224GEN WR22X020026GEN WR02X342027GEN WR02X342128GEN WR02X342229GEN WR02X410630GEN WR19X5003181GEN WR08X0044190GEN WR62X0022