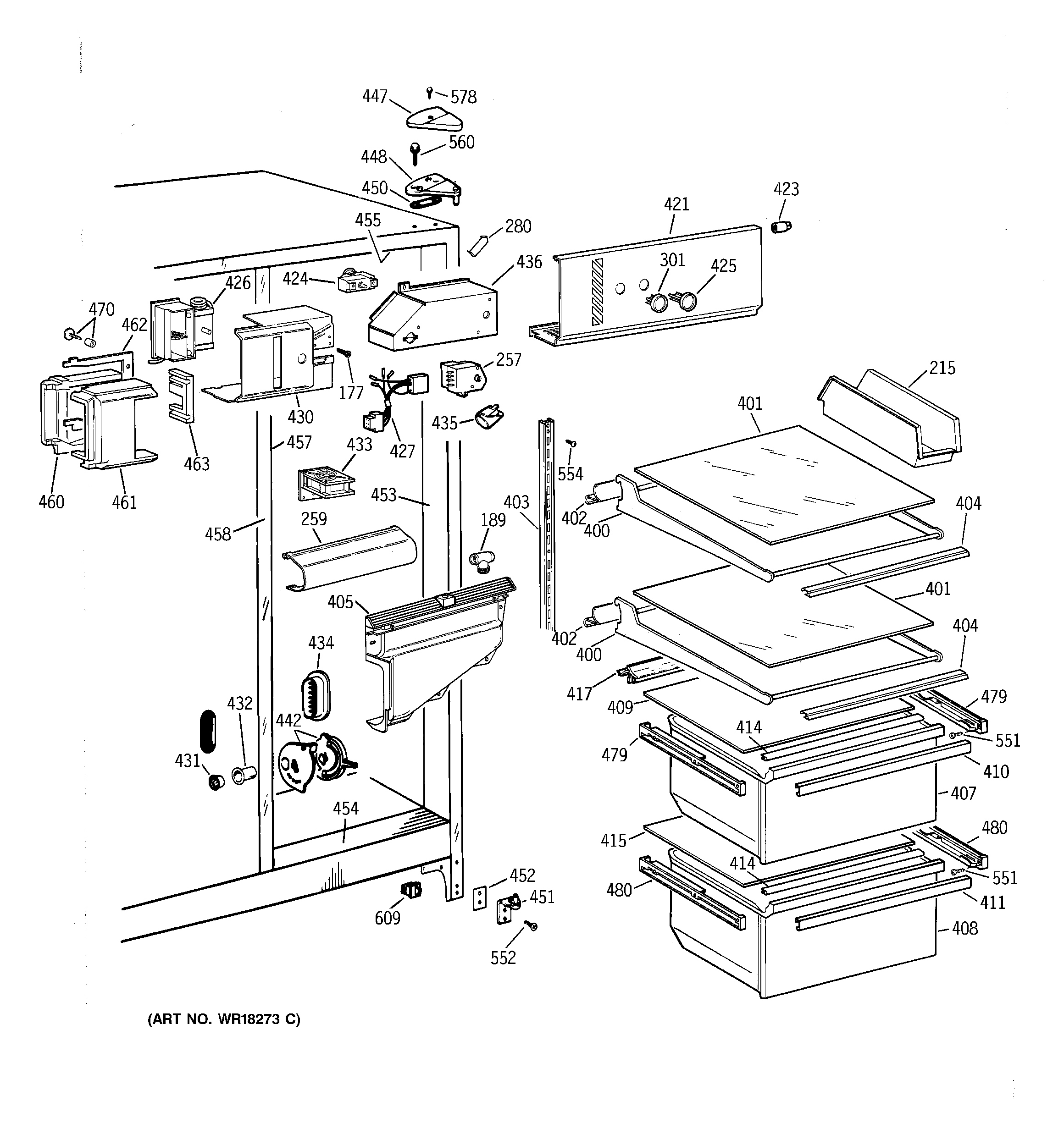
TFG20JAXFWW FRESH FOOD SECTIONadmin2025-04-26T10:51:07+00:00TFG20JAXFWW FRESH FOOD SECTION ProductsPositionProduct177SCREW189WR2X9014 GE Refrigerator Socket & Terminal C02215GEN WR32X0897257GEN WR09X0541259GEN WR17X4069280GEN WR02X8518301GEN WR02X9215400GEN WR71X2290401GEN WR32X1515402GEN WR38X2170403GEN WR72X0255404GEN WR38X2172405GEN WR17X1382405GEN WR14X0264407GEN WR32X1178408GEN WR32X1177409GEN WR32X1514410GEN WR17X4068411GEN WR17X4067414GEN WR14X0444415GEN WR32X1105417GEN WR02X8672421GEN WR17X4070423GEN WR02X6347424GEN WR09X0530424GEN WR02X8914425GEN WR02X9216426GEN WR09X0568427GEN WR23X0444430GEN WR17X3416431WR2X9299 GE Refrigerator Air Duct Cap Mullion432GEN WR02X8654433GEN WR60X0246434GEN WR02X9431435WR02X12207 GE Refrigerator Net Bulb Light436GEN WR02X8909442GEN WR02X9138447GEN WR02X8262448GEN WR13X0743450GEN WR02X4194451WR13X10020 GE Refrigerator Door Hinge Assembly with Cam452GEN WR02X9442453GEN WR40X1757454GEN WR40X1758455GEN WR40X1759457GEN WR40X1748458GEN WR02X9376458GEN WR02X7033458GEN WR02X4739458GEN WR40X1749460GEN WR02X8911461GEN WR02X8910461GEN WZ06X0136462GEN WR14X0442463GEN WR82X0338470GEN WR01X1929479WR72X207 GE Refrigerator Left Hand Slide Assembly479GEN WR72X0206480GEN WR72X0209480GEN WR72X0208551GEN WZ04X0244552WR01X10600 GE Refrigerator Screw 12-24 Tapping Hex .811 S Z554WR01X10601 GE Refrigerator Screw 10-24 TT IHXW560GEN WR01X2140578WZ2X464D GE Screw609WR23X37285 GE Light Switch