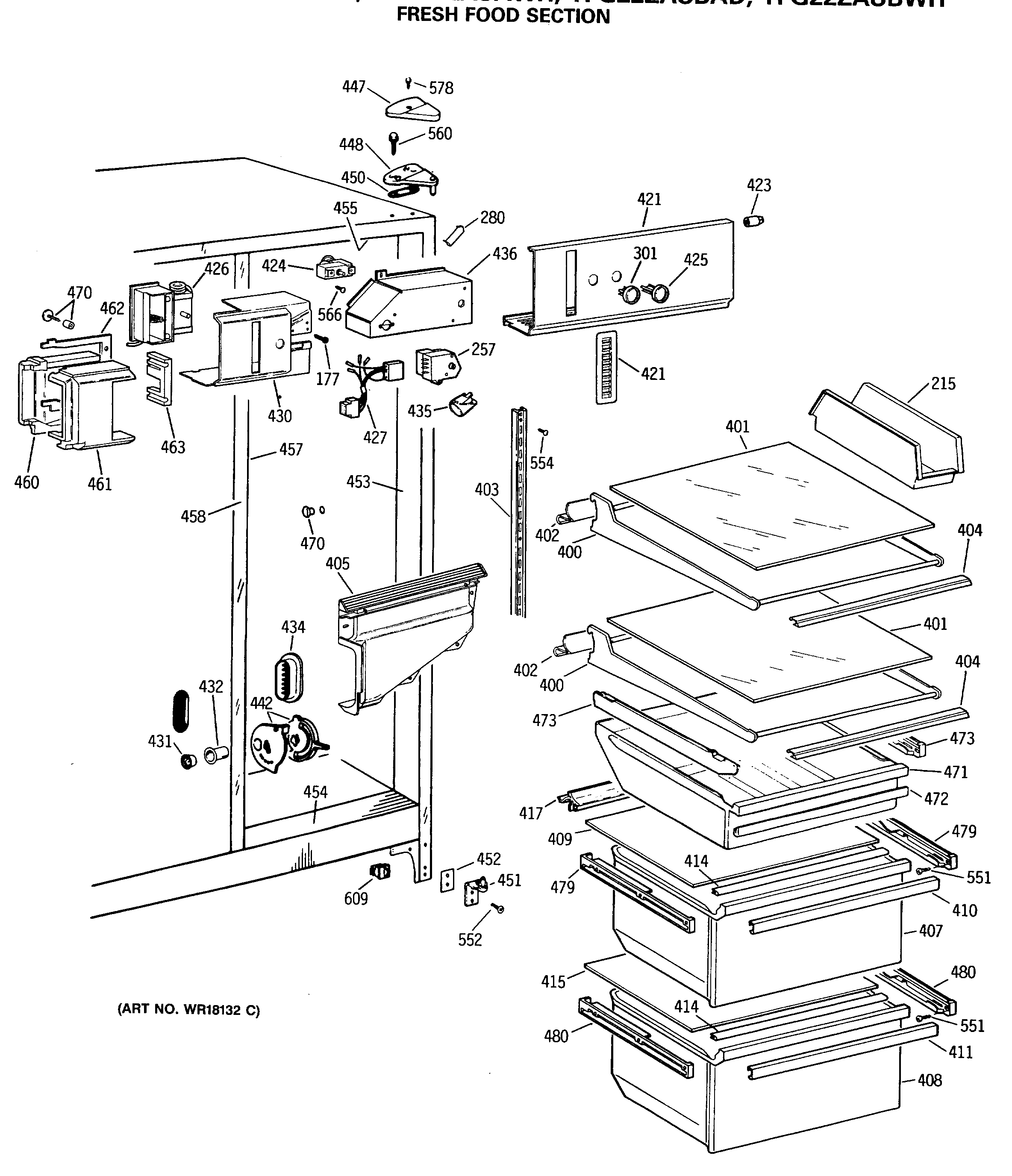
TFG22ZASAAD FRESH FOOD SECTIONadmin2025-04-26T10:53:01+00:00TFG22ZASAAD FRESH FOOD SECTION ProductsPositionProduct177SCREW215GEN WR32X1299215GEN WR32X0897257GEN WR09X0516280GEN WR02X8519301KNOB DAMPER CONT.400GEN WR71X2292401GEN WR32X1346402GEN WR38X1928403GEN WR71X2124404GEN WR38X1929405GEN WR14X0264405GEN WR17X1523407GEN WR32X1277408GEN WR32X1278409GEN WR32X1264410GEN WR17X2960411GEN WR17X2961414GEN WR14X0451415GEN WR32X0886417GEN WR02X7359421GEN WR14X0443421GEN WR17X3414421GEN WR17X3457423GEN WR02X6347423GEN WR02X6350424GEN WR02X8914424GEN WR09X0515425KNOB FRZ CONTROL426GEN WR09X0522426GEN WR14X0369427GEN WR23X0316430GEN WR17X3416431GEN WR02X8722432GEN WR02X8654434GEN WR02X8653435WR02X12207 GE Refrigerator Net Bulb Light435WR2X9014 GE Refrigerator Socket & Terminal C02442GEN WR02X8651447GEN WR02X7729448GEN WR13X0646450GEN WR02X4194451WR13X10020 GE Refrigerator Door Hinge Assembly with Cam452SHIM HINGE BTM.452NUTSTRIP HINGE453GEN WR40X1679454GEN WR40X1678455GEN WR40X1680457GEN WR40X1672458GEN WR40X1676458GEN WR02X4739458GEN WR02X7033458GEN WR02X8721460GEN WZ04X0264460GEN WR02X8911461GEN WZ06X0136461GEN WR02X8910462GEN WR14X0442463GEN WR82X0338470GEN WR01X1929471WR2X8349 GE Screw Grommet471GEN WR32X1348472GEN WR38X1761473GEN WR72X0210473GEN WR72X0211479WR72X207 GE Refrigerator Left Hand Slide Assembly479GEN WR72X0206480GEN WR72X0208480GEN WR72X0209551GEN WZ04X0244552SCR 12-24 TT HXW 1 3/64S554GEN WR01X1483560GEN WR01X1806578WZ2X464D GE Screw609WR23X37285 GE Light Switch