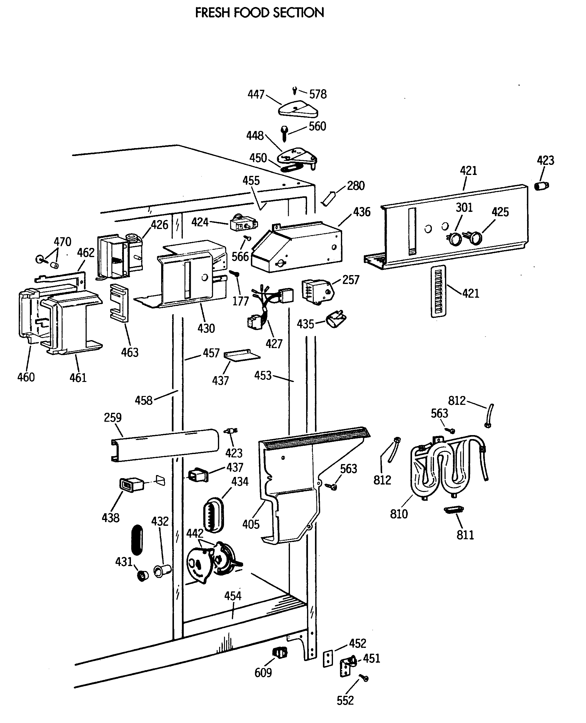
TFG24PRVABB FRESH FOOD SECTIONadmin2025-04-26T10:52:04+00:00TFG24PRVABB FRESH FOOD SECTION ProductsPositionProduct177SCREW257GEN WR09X0541259GEN WR17X2555280GEN WR02X8524301GEN WR02X9215405GEN WR17X1523405GEN WR14X0264421GEN WR17X3414421GEN WR14X0443421GEN WR17X3778423GEN WR02X6347424GEN WR09X0530424GEN WR02X8914425GEN WR02X9216426GEN WR09X0522427GEN WR23X0357430GEN WR17X3416431GEN WR02X8722432GEN WR02X8654434GEN WR02X9175435WR2X9014 GE Refrigerator Socket & Terminal C02435WR02X12207 GE Refrigerator Net Bulb Light436GEN WR02X8909437GEN WR02X8934437GEN WR02X7476438GEN WR02X8655442GEN WR02X9138447GEN WR02X8523448GEN WR13X0646450GEN WR02X4194451WR13X10020 GE Refrigerator Door Hinge Assembly with Cam452NUTSTRIP HINGE452SHIM HINGE BTM.453GEN WR40X1717454GEN WR40X1714455GEN WR40X1720457GEN WR40X1728458GEN WR02X4739458GEN WR02X8721458GEN WR40X1688458GEN WR02X7033460GEN WR02X8911461GEN WZ06X0136461GEN WR02X8910462GEN WR14X0442463GEN WR82X0338470GEN WR14X0420470GEN WR01X1929552GEN WR01X1806560GEN WR01X1249578WZ2X464D GE Screw609GEN WR23X0397810GEN WR17X3105811GEN WR02X8659812WR17X2891 GE Refrigerator 5/16" X 6FT Plastic Water Line Tubing