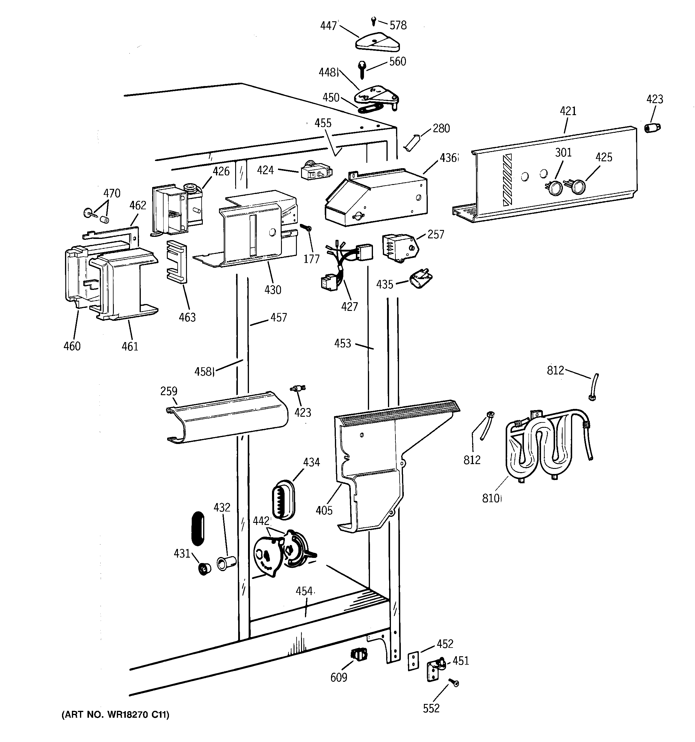
TFG25PEBBWH FRESH FOOD SECTIONadmin2025-04-26T10:55:31+00:00TFG25PEBBWH FRESH FOOD SECTION ProductsPositionProduct177SCREW257GEN WR09X0591259GEN WR17X4077280GEN WR02X8518301GEN WR02X9215405GEN WR17X3890421GEN WR17X4174423GEN WR02X10050423GEN WR02X6347424GEN WR09X0530424GEN WR02X8914425GEN WR02X9216426GEN WR09X0568427GEN WR23X0444430GEN WR17X3416431WR2X9299 GE Refrigerator Air Duct Cap Mullion432GEN WR02X8654434GEN WR02X9431435WR02X12207 GE Refrigerator Net Bulb Light435WR2X9014 GE Refrigerator Socket & Terminal C02436GEN WR02X8909442GEN WR02X8840442GEN WR02X3884447GEN WR02X8825447GEN WR02X8824448GEN WR13X0752450GEN WR02X4194451WR13X10020 GE Refrigerator Door Hinge Assembly with Cam452GEN WR02X7011453GEN WR40X1734454GEN WR40X1735455GEN WR40X1736457GEN WR40X1737458GEN WR02X9376458GEN WR02X7033458GEN WR02X4739458GEN WR40X1738460GEN WR02X8911461GEN WR02X8910461GEN WZ06X0136462GEN WR14X0442463GEN WR82X0338470GEN WR14X0465470GEN WR01X1929552WR01X10600 GE Refrigerator Screw 12-24 Tapping Hex .811 S Z560GEN WR01X2140578WZ2X464D GE Screw609WR23X37285 GE Light Switch810WR17X4358 GE Refrigerator Water Tank812WR17X2891 GE Refrigerator 5/16" X 6FT Plastic Water Line Tubing