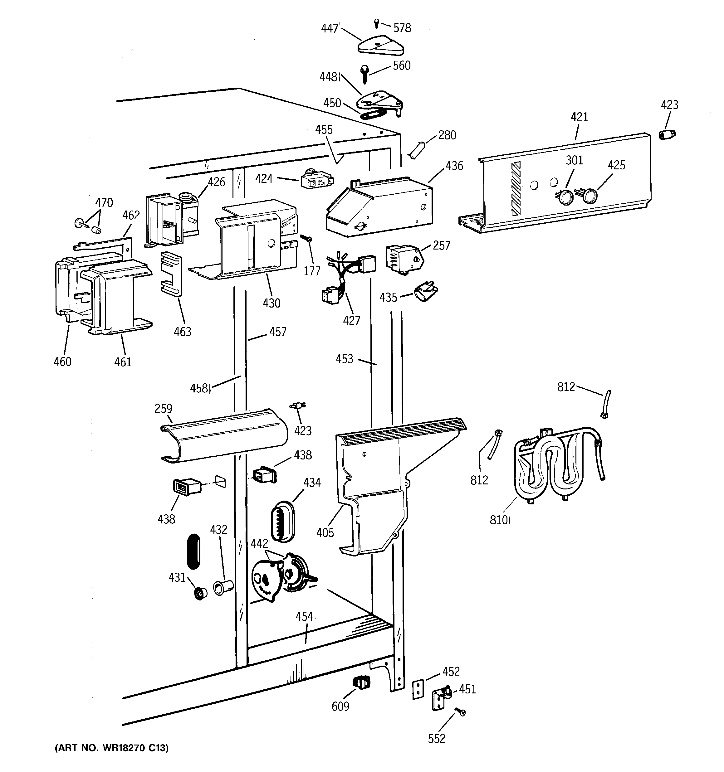
TFG25PRBCWW FRESH FOOD SECTION