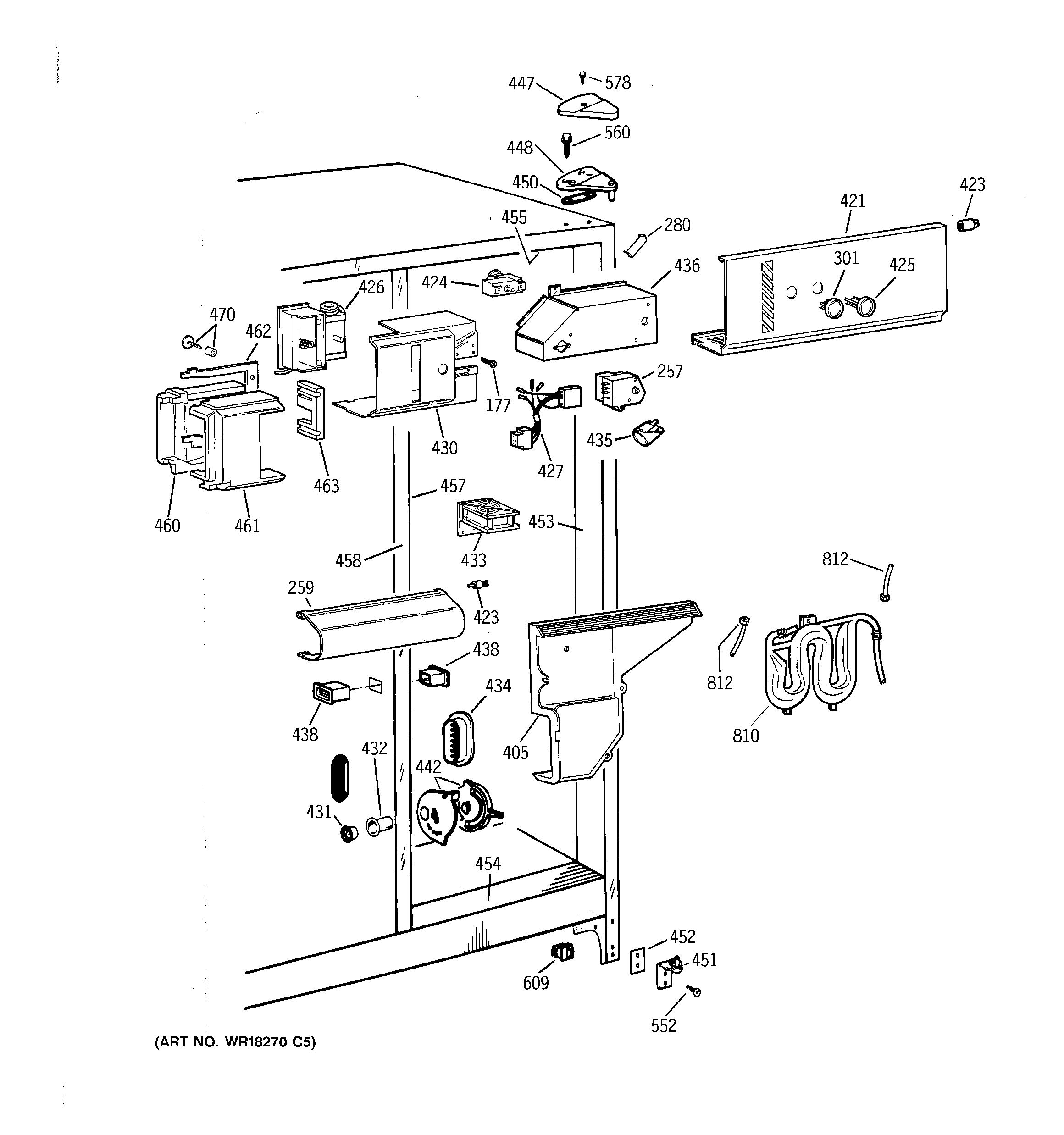
TFG27PFXDBB FRESH FOOD SECTION