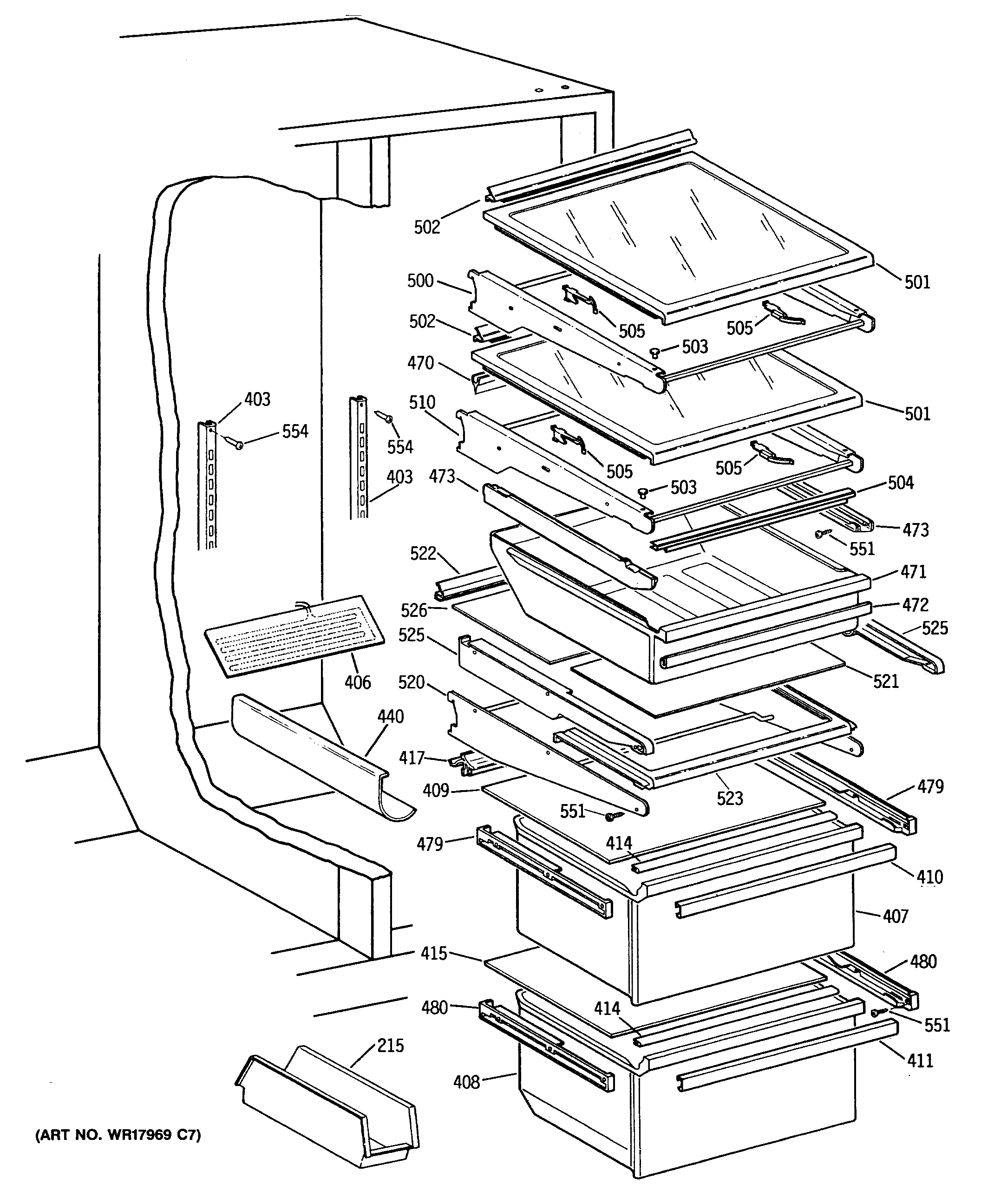
| 215 | WR32X1435 GE Refrigerator Egg Bucket |
| 403 | GEN WR72X0189 |
| 406 | GEN WR51X0387 |
| 407 | GEN WR32X1221 |
| 408 | GEN WR32X1222 |
| 409 | GEN WR32X1301 |
| 410 | GEN WR17X3775 |
| 411 | GEN WR17X3776 |
| 414 | GEN WR14X0451 |
| 415 | GEN WR32X0886 |
| 417 | GEN WR02X7359 |
| 440 | GEN WR17X3364 |
| 470 | GEN WR14X0420 |
| 470 | GEN WR01X1929 |
| 471 | GEN WR32X1339 |
| 471 | WR2X8349 GE Screw Grommet |
| 472 | GEN WR38X2065 |
| 473 | GEN WR72X0210 |
| 473 | GEN WR72X0211 |
| 479 | WR72X207 GE Refrigerator Left Hand Slide Assembly |
| 479 | GEN WR72X0206 |
| 480 | GEN WR72X0209 |
| 480 | GEN WR72X0208 |
| 500 | GEN WR71X2241 |
| 501 | GEN WR32X1442 |
| 502 | GEN WR38X1791 |
| 503 | GEN WR02X8573 |
| 504 | GEN WR14X0413 |
| 505 | GEN WR02X8574 |
| 505 | GEN WR02X8575 |
| 510 | GEN WR71X2243 |
| 520 | GEN WR71X2246 |
| 521 | GEN WR32X1267 |
| 522 | GEN WR38X1792 |
| 523 | GEN WR71X2494 |
| 525 | GEN WR72X0219 |
| 525 | GEN WR72X0218 |
| 526 | GEN WR32X1268 |
| 551 | GEN WZ04X0244 |
| 554 | GEN WR01X1483 |