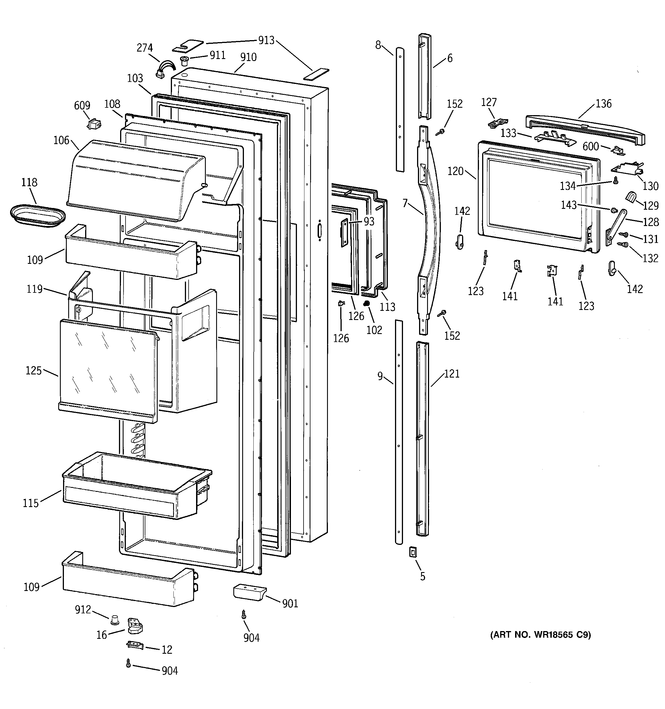
TFG30PFDBBB FRESH FOOD DOORadmin2025-04-26T12:27:31+00:00TFG30PFDBBB FRESH FOOD DOOR ProductsPositionProduct5GEN WR02X104326GEN WR12X101517GEN WR12X101328GEN WR12X101509GEN WR12X1019012GEN WR02X1002816GEN WR02X924693GEN WR23X10021102GEN WR02X8162103GEN WR24X0562106GEN WR22X0498108GEN WR77X10004109GEN WR71X10204113GEN WR38X10125115GEN WR71X10206115GEN WR71X10216118GEN WR19X0037119GEN WR17X10051120GEN WR17X10265121GEN WR12X10192123GEN WR02X10039123GEN WR02X10038125GEN WR17X10052126WR02X10040 GE Refrigerator Rectangular Fastener126GEN WR24X10002127GEN WR02X10034128WR13X10005 GE Refrigerator Hinge Arm129WR02X10035 GE Hinge Cap Arm130WR02X10032 GE Refrigerator Bracket Side CMK131SCR 10-24 TX 11/16132WR02X10037 GE Refrigerator Stop Hinge Arm133WR02X10033 GE Refrigerator Door Trigr CMK134WR01X10019 GE Refrigerator Screw 6-10 PL FLP 1/2 S136GEN WR17X10266141GEN WR01X10018141GEN WR01X10017142GEN WR02X10045143WR02X10041 GE Arm Hinge Stud152GEN WR01X10038274GEN WR23X10038600WR23X10027 GE Refrigerator Micro Switch609GEN WR23X10147901GEN WR10X0126904WR01X10610 GE Refrigerator Screw 10-32 GX PNT20 1 S L910GEN WR78X10154911GEN WR01X2041912GEN WR01X2132913GEN WR01X2037