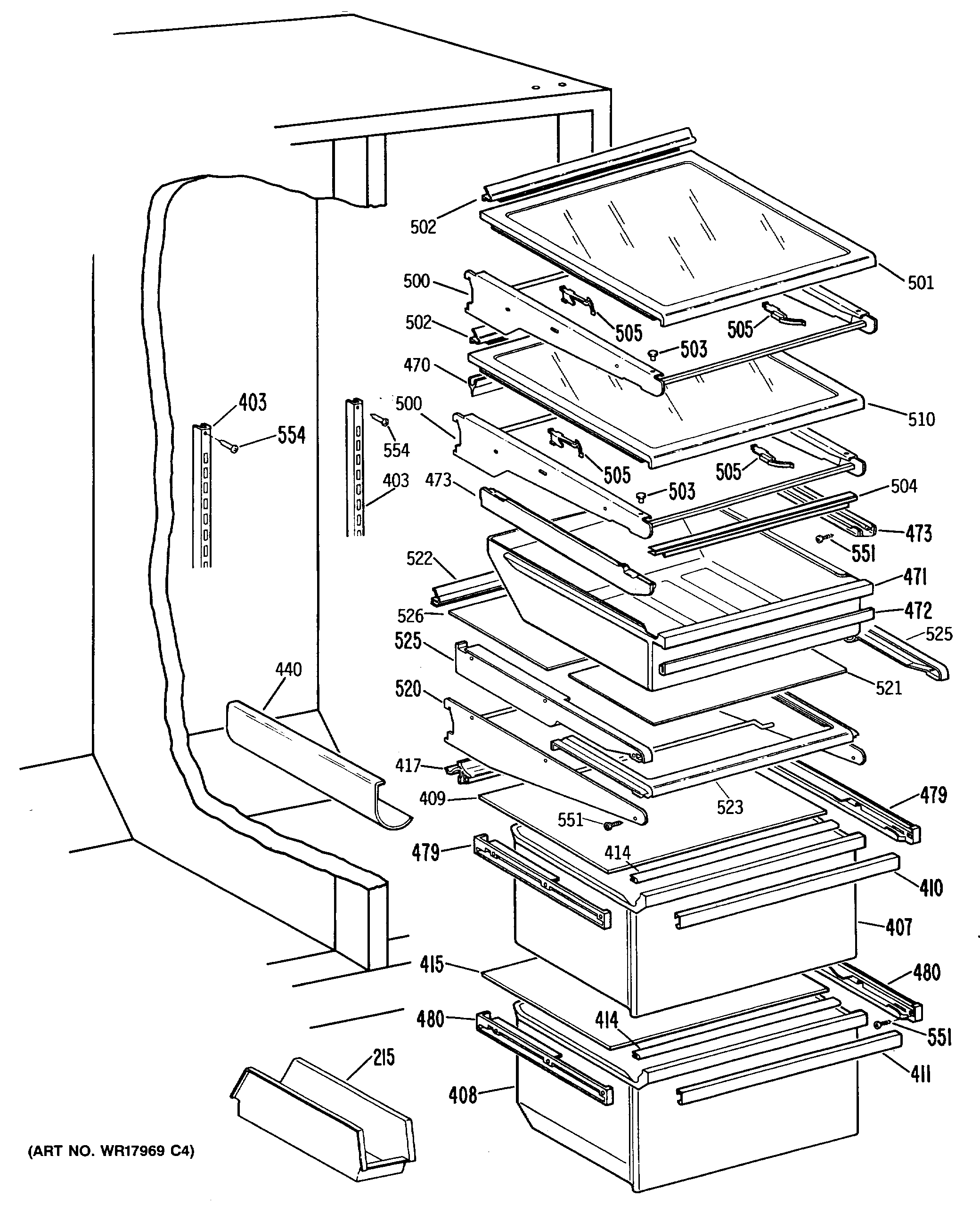
TFH24PRSABB 2