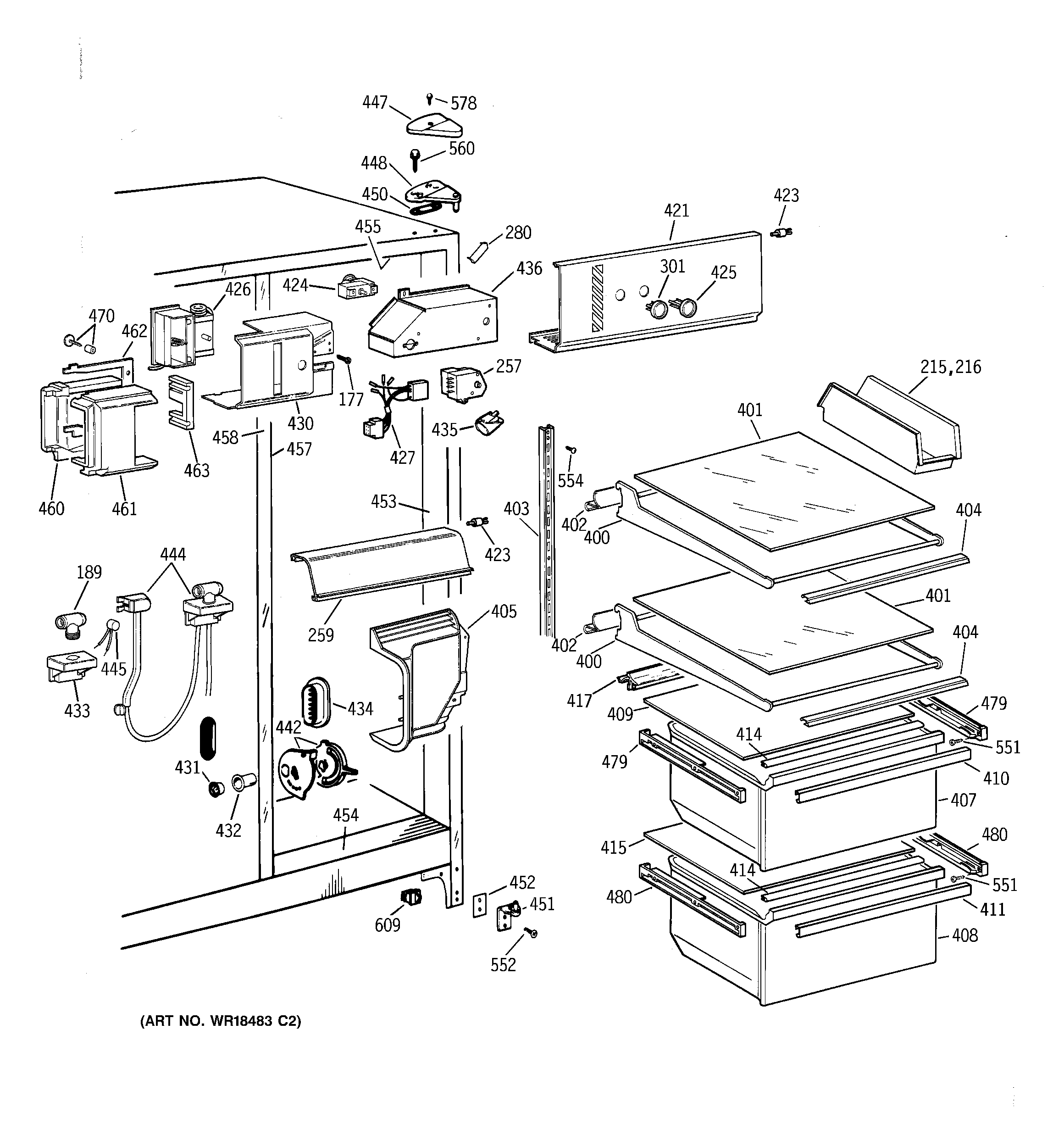
TFJ20JABCAA FRESH FOOD SECTION