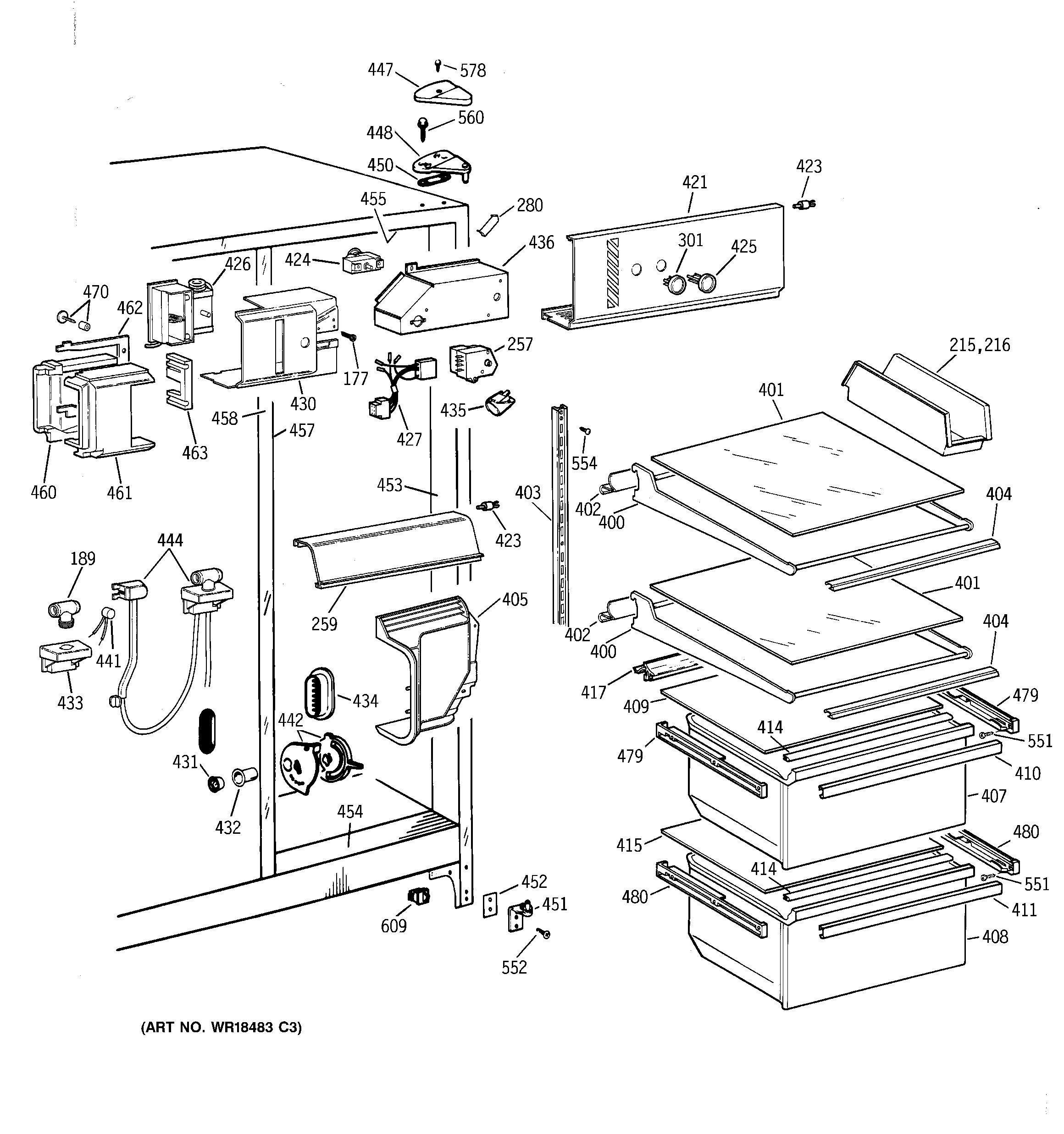
TFJ20JABEAA FRESH FOOD SECTION