TFJ22JADAWW FRESH FOOD SECTION

TFJ22JADAWW FRESH FOOD SECTION

Products

PositionProduct
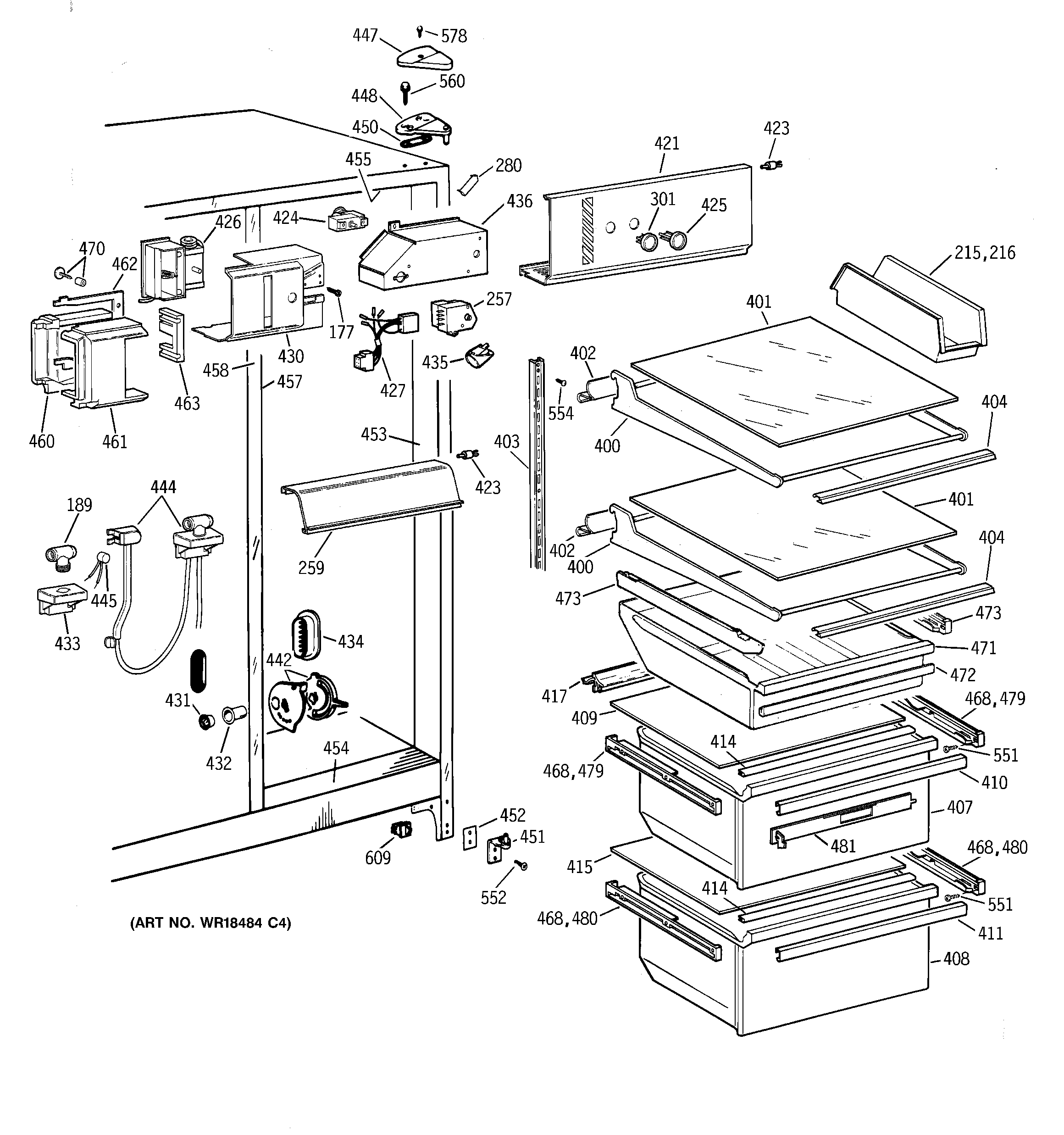
177SCREW
189GEN WR02X9243
215GEN WR32X0897
216GEN WR32X1575
257WR9X560 GE Refrigerator Defrost Control
259GEN WR17X3909
280GEN WR02X8518
301GEN WR02X9215
400GEN WR71X2292
401GEN WR32X1501
402GEN WR38X2146
403GEN WR71X2588
404GEN WR38X2150
407WR32X1492 GE Refrigerator Vegetable Pan
408GEN WR32X1493
409GEN WR32X1500
410GEN WR17X4075
411GEN WR17X4076
414GEN WR14X0431
415GEN WR32X1473
417GEN WR17X10506
421GEN WR17X4078
423GEN WR02X10050
423GEN WR02X6347
424GEN WR09X0599
424GEN WR02X8914
425GEN WR02X9216
426GEN WR09X0567
427GEN WR23X0444
430GEN WR17X3416
431WR2X9299 GE Refrigerator Air Duct Cap Mullion
432GEN WR02X8654
433GEN WR02X9239
434GEN WR02X9431
435RANGE ONLY 40W 120V APPL BULB
435WR2X9391 GE Socket and Terminal
436GEN WR02X8909
442GEN WR17X10060
444GEN WR17X10590
445GEN WR50X0139
447GEN WR02X8262
448GEN WR13X10054
450GEN WR02X4194
451WR13X10020 GE Refrigerator Door Hinge Assembly with Cam
452SHIM HINGE BTM.
453GEN WR40X1744
454GEN WR40X1745
455GEN WR40X1746
457GEN WR40X1748
458GEN WR40X1749
458GEN WR02X9376
458GEN WR02X10334
460GEN WR02X8911
461GEN WZ06X0136
461GEN WR02X8910
462GEN WR14X0442
463GEN WR82X0338
468WR1X2048 GE Refrigerator Slide Bearing
470GEN WR01X1928
470GEN WR01X1929
471GEN WR32X1339
472GEN WR17X4079
473GEN WR72X0210
473GEN WR72X0211
479WR72X239 GE Refrigerator Left Hand Slide Assembly
479WR72X240 GE Slide Assembly Right Hand
480WR72X252 GE Refrigerator Slide Assembly Left Hand
480GEN WR72X0253
481GEN WR01X2079
551GEN WZ04X0244
552WR01X10600 GE Refrigerator Screw 12-24 Tapping Hex .811 S Z
554WR01X10601 GE Refrigerator Screw 10-24 TT IHXW
560GEN WR01X2140
578WZ2X464D GE Screw
609WR23X37285 GE Light Switch