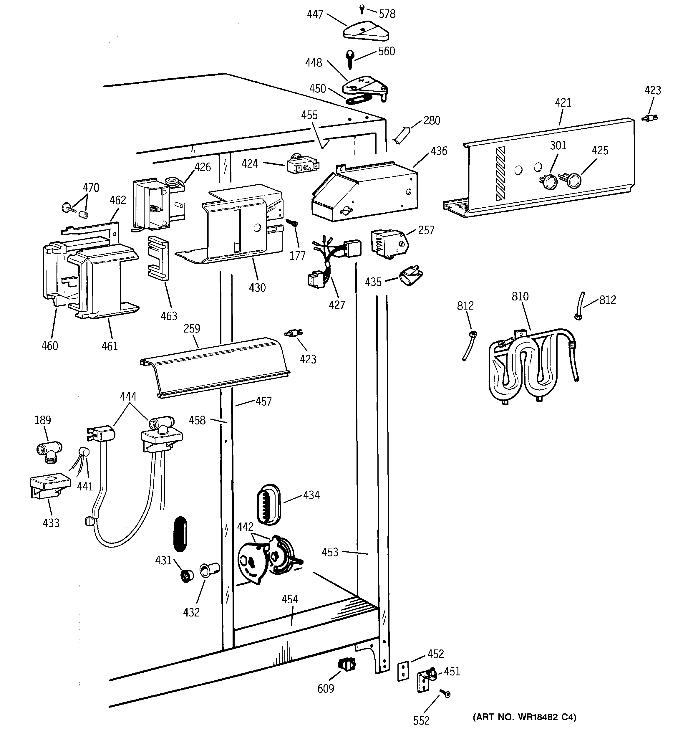
TFJ22PRBGAA FRESH FOOD SECTION