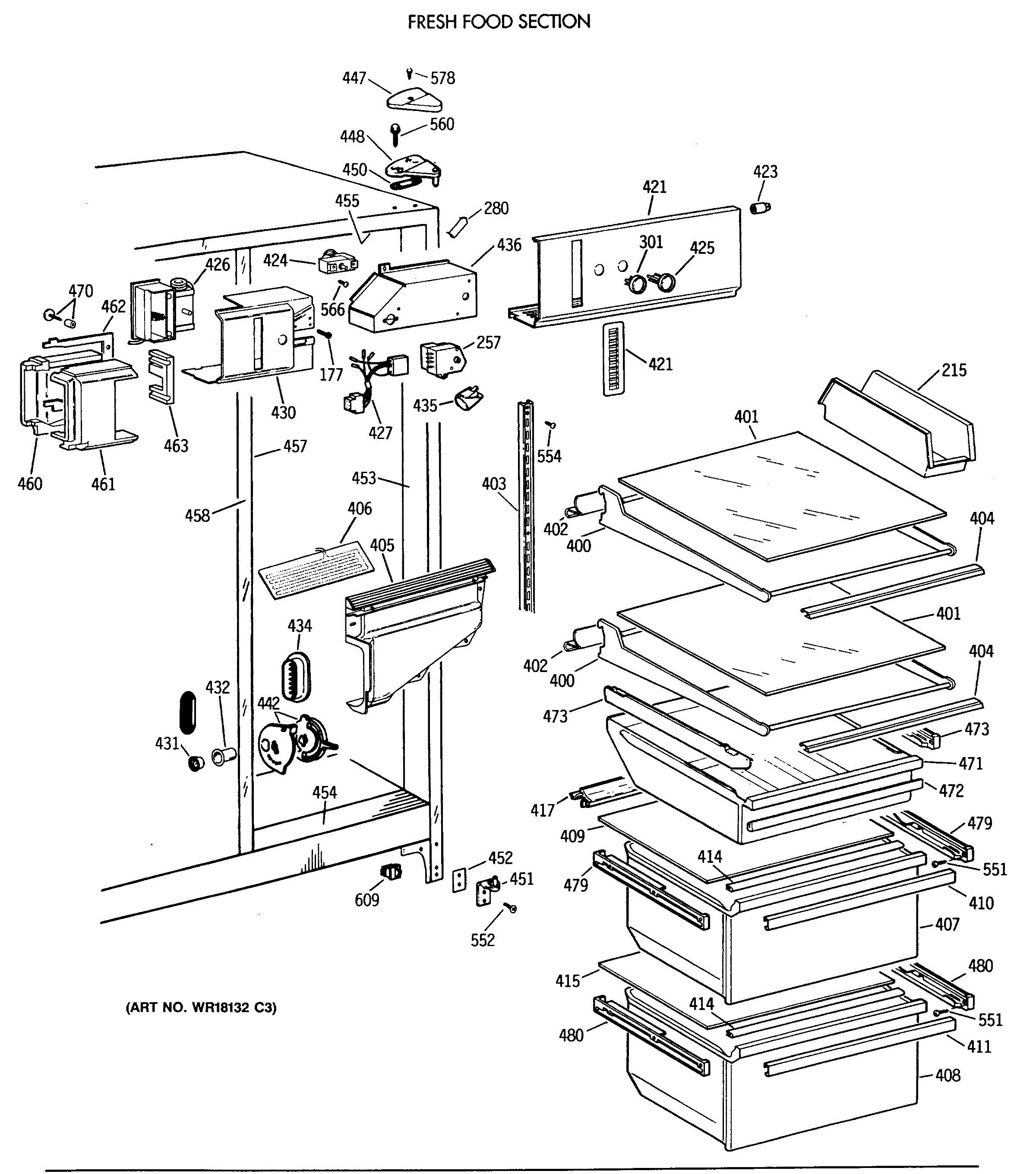
TFK22ZATCAD FRESH FOOD SECTIONadmin2025-04-26T10:45:09+00:00TFK22ZATCAD FRESH FOOD SECTION ProductsPositionProduct177SCREW215GEN WR32X0897215GEN WR32X1439257GEN WR09X0541280GEN WR02X8519301GEN WR02X9215400GEN WR71X2292401GEN WR32X1346402GEN WR38X1928403GEN WR71X2124404GEN WR38X2032405GEN WR14X0264405GEN WR17X1523406GEN WR51X0387407GEN WR32X1277408GEN WR32X1278409GEN WR32X1264410GEN WR17X3779411GEN WR17X3780414GEN WR14X0451415GEN WR32X0886417GEN WR02X7359421GEN WR17X3778421GEN WR14X0443421GEN WR17X3414423GEN WR02X6347424GEN WR02X8914424GEN WR09X0530425GEN WR02X9216426GEN WR09X0522427GEN WR23X0316430GEN WR17X3416431GEN WR02X8722432GEN WR02X8654434GEN WR02X9175435WR02X12207 GE Refrigerator Net Bulb Light435WR2X9014 GE Refrigerator Socket & Terminal C02436GEN WR02X8909442GEN WR02X9138447GEN WR02X8263448GEN WR13X0646450GEN WR02X4194451WR13X10020 GE Refrigerator Door Hinge Assembly with Cam452NUTSTRIP HINGE452SHIM HINGE BTM.453GEN WR40X1717454GEN WR40X1714455GEN WR40X1720457GEN WR40X1718458GEN WR40X1676458GEN WR02X8721458GEN WR02X4739458GEN WR02X7033460GEN WR02X8911461GEN WZ06X0136461GEN WR02X8910462GEN WR14X0442463GEN WR82X0338470GEN WR01X1929471WR2X8349 GE Screw Grommet471GEN WR32X1348472GEN WR38X2066473GEN WR72X0210473GEN WR72X0211479WR72X207 GE Refrigerator Left Hand Slide Assembly479GEN WR72X0230479GEN WR72X0206480GEN WR72X0209480GEN WR72X0208551GEN WZ04X0244554GEN WR01X1483560GEN WR01X1806560GEN WR01X1249578WZ2X464D GE Screw609WR23X37285 GE Light Switch