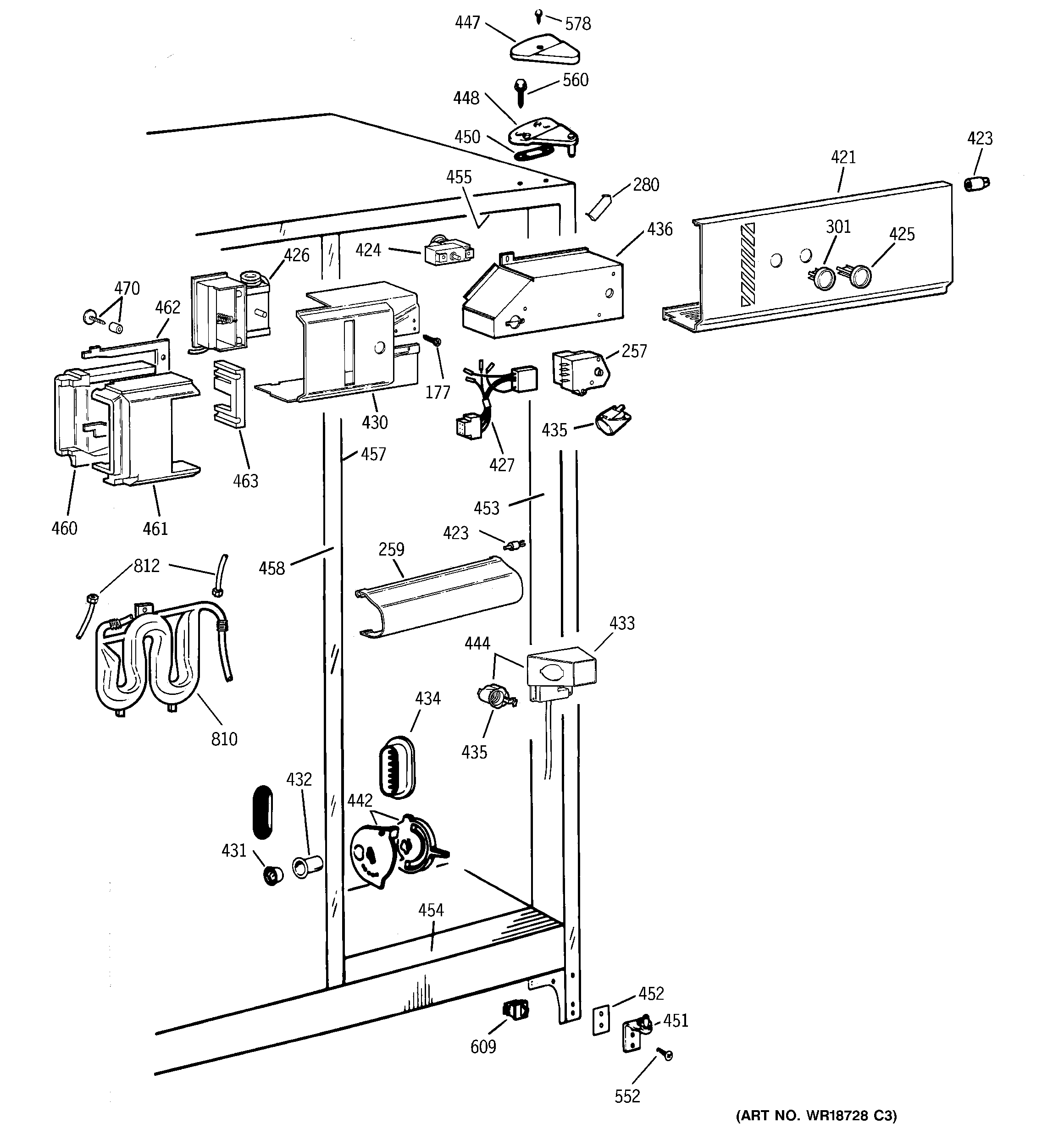
TFK25PRBGAA FRESH FOOD SECTIONadmin2025-04-26T10:45:01+00:00TFK25PRBGAA FRESH FOOD SECTION ProductsPositionProduct177SCREW257GEN WR09X0601259GEN WR17X3909280GEN WR02X8519301GEN WR02X9215421GEN WR17X4174423GEN WR02X6347423GEN WR02X10050424GEN WR02X8914424GEN WR09X0530425GEN WR02X9216426GEN WR09X0567427GEN WR23X0444430GEN WR17X3416431WR2X9299 GE Refrigerator Air Duct Cap Mullion432GEN WR02X8654433GEN WR02X10026434GEN WR02X9431435WR2X9014 GE Refrigerator Socket & Terminal C02435WR02X12207 GE Refrigerator Net Bulb Light436GEN WR02X8909442GEN WR02X8840442GEN WR02X3884444GEN WR23X10133447GEN WR02X8844447GEN WR02X8843448GEN WR13X10058450GEN WR02X4194451WR13X10020 GE Refrigerator Door Hinge Assembly with Cam452GEN WR02X7011452SHIM HINGE BTM.453GEN WR40X1734454GEN WR40X1735455GEN WR40X1736457GEN WR40X10029458GEN WR02X9376458GEN WR02X10334458GEN WR40X1740460GEN WR02X8911461GEN WR02X8910461GEN WZ06X0136462GEN WR14X0442463GEN WR82X0338470GEN WR14X0465470GEN WR01X1928470GEN WR01X1929552WR01X10600 GE Refrigerator Screw 12-24 Tapping Hex .811 S Z560GEN WR01X2140578WZ2X464D GE Screw609WR23X37285 GE Light Switch810GEN WR17X10507812WR17X2891 GE Refrigerator 5/16" X 6FT Plastic Water Line Tubing